Как организовать щиток, чтобы он был функционален и не очень дорог?

Вопросы по электромонтажу, не попавшие в основные разделы
Аватара пользователя
elalex
Сообщения: 7423
Зарегистрирован: 21 июл 2015, 08:08
Репутация: 591
Откуда: [email protected]
Контактная информация:

Как организовать щиток, чтобы он был функционален и не очень дорог?

Сообщение elalex » 23 мар 2019, 14:27

1.Я либертарианец, в минархической части.
2.Никак не могу привыкнуть, что на форуме всё, что не электрика - то политика. Не как у людей.
3.С правописанием нужно разбираться в деталях. Во всяком случае, сократить в 10 раз.
Одиночный свободный электрик
Опыт ремонтов квартир 20лет
Высшее электрическое образование
Бывший инженер-электрик
Пенсионер
64 года
Пишу для владельцев частного жилья
Запасной E–mail для россиян: [email protected]
Реклама
Аватара пользователя
Константин
Сообщения: 3464
Зарегистрирован: 16 сен 2015, 10:19
Репутация: 851
Откуда: Новосибирская область
Контактная информация:

Как организовать щиток, чтобы он был функционален и не очень дорог?

Сообщение Константин » 23 мар 2019, 14:54

elalex писал(а):Источник цитаты 2.Никак не могу привыкнуть, что на форуме всё, что не электрика - то политика. Не как у людей.

Это ты у нас только такой. Рассылка про политику,разговоры про политику. И электрику в политику.
Alex2019
Сообщения: 9
Зарегистрирован: 22 мар 2019, 18:51
Репутация: 1
Контактная информация:

Как организовать щиток, чтобы он был функционален и не очень дорог?

Сообщение Alex2019 » 23 мар 2019, 22:07

elalex писал(а):Источник цитаты В этажном щитке достаточно и 1-полюсного автомата под сечение вводного кабеля

Ну раз уж стоит, то пусть стоит.

elalex писал(а):Источник цитаты комплект бюджетных УЗИПов

Возьму на заметку, но сейчас ставить не буду.

elalex писал(а):Источник цитаты Брать "заземление" от застройщика смертельно опасно. Нужно делать своё

Ого! А вот это интересно. Почему опасно? И как его делать в многоквартирном доме, трубу в землю ведь не вобьешь :wink:

elalex писал(а):Источник цитаты Вся схема, рассказанная словами - должна бы нарисована

Rumato писал(а):Источник цитаты Схемы нет вообще, есть список, который надо превратить в схему, тогда будет наглядно

Сегодня весь день рисовал. Оцените результат. Включил в схему значения длины каждого кабеля и, где смог, мощность потребления. Многие розетки я сам не знаю, для чего, поэтому там знаки вопроса. Вероятно, для всякой мелочи- зарядить телефон, включить ночник и т.д.
Не знаю, на сколько будет понятно. Выходит, мне кажется, довольно нагроможденная схема:
Проект 2.jpg


elalex писал(а):Источник цитаты Сколько жил будут иметь кабели - будет видно, как бог даст. Где 2, где 3, где 4, где 5 жил.
6

Почему? Я думал, на свет 2 жилы, на все остальное- по 3: фаза, ноль и заземление.

Rumato писал(а):Источник цитаты Можно поставить одно УЗО на всю квартиру и этого будет достаточно

То есть защитить один единственный УЗО вводным автоматом меньшего номинала, чем этот УЗО, а последующих автоматов ставить столько, сколько захочется, даже если сумма номиналов нижестоящих атвоматов будет больше номинала единственного УЗО? А эта идея мне нравится! Только не будут ли превышены токи утечки? Линий ведь много получается.

Rumato писал(а):Источник цитаты Вводной автомат, 2 УЗО 63А-30мА, под ними кучка автоматов. По сечениям кабелей всё правильно.

Ну собственно, у меня на схеме почти так и получается: два УЗО 63А-30мА, под каждым по три автомата и по 16-17 метра кабеля в сумме (под каждым УЗО). Сливать все автоматы на один УЗО боюсь, вдруг токи утечки будут слишком большие.

Ну а на ванну один УЗО 10 мА мне не жалко- безопасность дороже.
Rumato писал(а):Источник цитаты 10 мА крайне желательно на водонагреватель, в остальных случаях оно не очень нужно.


elalex писал(а):Источник цитаты что такое функциональность и дешевизна - совершенно непонятно

Компромиссный вариант между селективностью, безопасностью, но чтобы в разумных ценовых пределах.
TOPMO3 писал(а):
Источник цитаты Я таки не понял ... проводка по квартире не проложена что-ли?

Нет, она проложена только до внутриквартирного щитка.

TOPMO3 писал(а):Источник цитаты Я бы автору посоветовал использовать щиток от застройщика, не меняя его ... это самый дешевый вариант.


Я планирую использовать автоматы и УЗО от застройщика, так как фирма вроде ничего (судя по отзывам, которые нашел в гугле). А вот у щитка дверца отвалилась =(

TOPMO3 писал(а):Источник цитаты предположу, что есть проектная схема электропроводки, которая обязана соответствовать требования нтд ... почему автор не согласен с ней?
В

Никакой проектной схемы электропроводки мне не давали =( Только общий поэтажный план, где обозначена только перегородка санузла, которой в реальности нет и ее надо делать самому. А про проводку вообще ничего.

ПАВ писал(а):Источник цитаты Потому сейчас покупаются голые стены, "от застройщика", а там лепи, шо душе угодно

Не совсем так. Все перегородки ведь уже нарисованы на чертеже БТИ. Чтобы что-то поменять, надо делать проект перепланировки в фирме, что стоит некоторых денег, и нести на согласование!

elalex писал(а):Источник цитаты В квартире не должно быть никаких аппаратов, не защищённых УЗО

Это правило я соблюдаю. Если не считать освещение- аппаратами. Вроде там не нужно УЗО (если не прав- поправьте).

elalex писал(а):Источник цитаты Никаких автоматов С в квартире быть не должно.

Даже на электроплитке не должно быть С? Когда я читал статьи по электрике, там советовали на электроплиту ставить С.
Аватара пользователя
Rumato
Сообщения: 739
Зарегистрирован: 23 июл 2015, 22:15
Репутация: 107
Откуда: Щелково МО
Контактная информация:

Как организовать щиток, чтобы он был функционален и не очень дорог?

Сообщение Rumato » 23 мар 2019, 22:43

Alex2019,
УЗО 63А-10мА не существует.
УЗО с током утечки на 32мА не существует.
Я уже сказал, ставите 2 УЗО 63А-30мА, под ними равномерно распределяете автоматы, свет то же под УЗО. И не надо ничего выдумывать.
https://instagram.com/dmytriy_kuskov
Аватара пользователя
elalex
Сообщения: 7423
Зарегистрирован: 21 июл 2015, 08:08
Репутация: 591
Откуда: [email protected]
Контактная информация:

Как организовать щиток, чтобы он был функционален и не очень дорог?

Сообщение elalex » 24 мар 2019, 05:00

Alex2019:
1.Политика "Ну раз уж стоит, то пусть стоит" может кончиться пожаром. Нормальные люди делают, как нужно, а не оставляют, как стоит.
2.Тема опасности типичного заземления новостроек TN-C-S многократно обсуждена.
По-простому, при аварии обрыва ноля она подает опасное напряжение на сеть защитных проводников.
3.Способы выполнения собственного заземления в многоквартирном доме бывают разные, в зависимости от конкретной ситуации. Опишите свою - материал стен, этаж.
4.Схема обычно многократно переделывается. При следующей переделке имеет смысл нарисовать её в какой-то рисовальной программе, с прямыми линиями, горизонтальными прямоугольниками.
5.Вводной автомат в квартирном щитке ни к чему.
6.Дублировать надписи не стоит.
Если понятно, что автомат и длина, то и писать эти слова не стоит.
Мелочи типа сантиметров излишни.
Рисовать потребители слабее 1кВт не стоит.
Нужно указывать сечения жил.
7.Не буду смотреть, что я уже написал, а напишу, как будто в первый раз:
8.Отдельные линии на отдельные маломощные (<3кВт) потребители - ни к чему. У вас все потребители квартиры - маломощные.
Организуются сети розеток:
- мощные - 2-3 шт на рабочую сторону кухни, сечением 2,5мм²=5кВт на автоматах В20, и в ванную. Все розетки с индивидуальными термореле защиты от перегрузок
- остальные маломощные сечением 1,5мм²=3кВт на автоматах В13: по 2шт в каждую комнату, на не рабочую сторону кухни, в прихожую, на балкон.
9.Неотключаемые линии - ни к чему.
10.Первоначальное решение - все УЗО максимального тока 63А.
На подаренные УЗО нужно посмотреть.
11.Автоматы освещения В6. На освещение пускается 3 жилы.
12.По моей методике:
- всем группам присваиваются буквы (Р - розеточные, О - освещения) и порядковые номера
- на плане кабельных трасс рисуются направления розеточных групп по стенам, и группы освещения по помещениям
- всем жилам на все потребители даются обозначения, например: ФР1, ОР1- фаза и ноль розеточной группы #1. З - заземление.
- на плане показываются места вдоль стен, включая вертикальные спуски, где проходят все жилы, с указанием сечений
- на всех разветвлениях кабельных трасс ставятся соединительные коробки, рисуются схемы всех коробок с указанием всех входящих жил
- жилы одинаковых сечений, идущие в одном направлении от одной соединительной коробки до другой, разумным образом объединяются в кабели. Например, в одном кабеле собираются все фазы, в другом - все ноли+1 жила заземления на все группы.
Я не вижу более разумного способа изображения плана. Если примите его и себе, лучше бы показать на каком-то участке, что Вы его поняли. Раньше я изображал образец плана в своей манере, возможно, он где-то сохранился, но вставить его опять - скорее всего не получится. Надеюсь, достаточно и словесного описания.
Подобного подхода в Интернете я не видел. Есть у электриков такие планы, и в таком стиле, или нет - не знаю
- пример объединения жил в кабели. Допустим, в одном направлении должно идти 10 жил одного сечения. Их можно объединить в 2 кабеля по 5 жил (10=5+5) или 1 кабель 4 жилы и 2 кабеля по 3 жилы (10=4+3+3), или по 2 кабеля по 3 и 2 жилы (10=3+3+2+2).
13.Мы с Rumato не общаемся.
14.УЗО 10мА практически не лучше УЗО 30мА.
15.Компромисс выбирает хозяин, сравнивая все варианты. Разница в расходах несущественна. Существенно, чтобы хозяин совершенно чётко понимал достоинства и недостатки всех вариантов.
16.Кто сказал что хорошее про EKF? Что за люди? Они показали свою компетентность?
17.Светильники - тоже аппараты, и тоже требуют дифзащиты.
18.В Интернете советуют что угодно. Как только возникают сомнения - требуйте обоснований.
Для увеличения вероятности селективности токовой защиты количество автоматов в цепочке питания - должно быть минимально, а разница их защ.характеристик и номиналов - должна быть максимальна. У меня в цепочке 2 автомата - вводной D и групповой B, и никаких дифавтоматов вместо УЗО.
Одиночный свободный электрик
Опыт ремонтов квартир 20лет
Высшее электрическое образование
Бывший инженер-электрик
Пенсионер
64 года
Пишу для владельцев частного жилья
Запасной E–mail для россиян: [email protected]
Аватара пользователя
TOPMO3
Сообщения: 4181
Зарегистрирован: 29 фев 2016, 10:37
Репутация: 626
Откуда: Ижевск
Контактная информация:

Как организовать щиток, чтобы он был функционален и не очень дорог?

Сообщение TOPMO3 » 24 мар 2019, 08:44

Alex2019 писал(а):
TOPMO3 писал(а):Источник цитаты Я бы автору посоветовал использовать щиток от застройщика, не меняя его ... это самый дешевый вариант.
Сегодня весь день рисовал. Оцените результат.
Спасибо за труд ... оценивать смысла нет, зато выяснились почти все Ваши "хотелки" ... "допросы партизана" можно прекращать, начинаем выкладывать варианты. :wink:
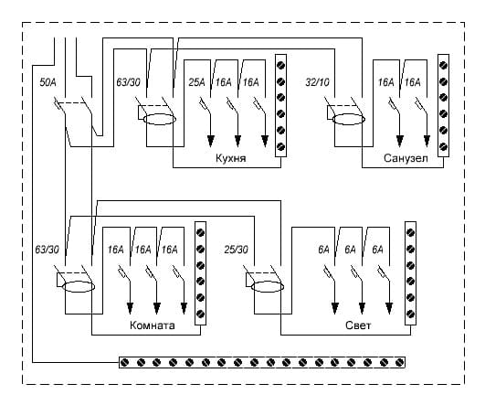
Ваш дневной труд (схема) вместится только в 36_ти модульный бокс, а это огромный размер ... в простенок влезет?
Вот вариант схемы на 24 модуля (возможно и это не влезет) ... обсуждайте.
Вложения
00.JPG
Смеюсь последний ... тормоз однако!
Аватара пользователя
TOPMO3
Сообщения: 4181
Зарегистрирован: 29 фев 2016, 10:37
Репутация: 626
Откуда: Ижевск
Контактная информация:

Как организовать щиток, чтобы он был функционален и не очень дорог?

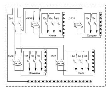
Сообщение TOPMO3 » 24 мар 2019, 12:09

Еще вариант, изменил/исправил номиналы и компановку...
Вложения
00.JPG
Последний раз редактировалось TOPMO3 25 мар 2019, 11:34, всего редактировалось 1 раз.
Смеюсь последний ... тормоз однако!
Аватара пользователя
Константин
Сообщения: 3464
Зарегистрирован: 16 сен 2015, 10:19
Репутация: 851
Откуда: Новосибирская область
Контактная информация:

Как организовать щиток, чтобы он был функционален и не очень дорог?

Сообщение Константин » 24 мар 2019, 19:09

elalex писал(а):Источник цитаты По-простому, при аварии обрыва ноля она подает опасное напряжение на сеть защитных проводников.

При TN-C такое будет, а не при TN-C-S. Не путай Гуру.
elalex писал(а):Источник цитаты ощные - 2-3 шт на рабочую сторону кухни, сечением 2,5мм²=5кВт на автоматах В20, и в ванную. Все розетки с индивидуальными термореле защиты от перегрузок

20А ток условного отключения 1.45. 20х1.45=29А в течении часа. 2.5кв.мм меди держит максимум 25А. Когда вы б*ть считать научитесь. Террористы электрические.
elalex писал(а):Источник цитаты - пример объединения жил в кабели. Допустим, в одном направлении должно идти 10 жил одного сечения. Их можно объединить в 2 кабеля по 5 жил (10=5+5) или 1 кабель 4 жилы и 2 кабеля по 3 жилы (10=4+3+3), или по 2 кабеля по 3 и 2 жилы (10=3+3+2+2

Вот этой фигней страдать не надо. Если не хотите спалить что нибудь.
Alex2019
Сообщения: 9
Зарегистрирован: 22 мар 2019, 18:51
Репутация: 1
Контактная информация:

Как организовать щиток, чтобы он был функционален и не очень дорог?

Сообщение Alex2019 » 24 мар 2019, 23:42

elalex писал(а):Источник цитаты сечением 2,5мм²=5кВт на автоматах В20, и в ванную

Зачем ставить автоматы В20 на розетки? Быстрый поиск в гугле по запросу "розетка максимальный ток" дал результат, что большинство современных бытовых розеток рассчитаны на ток 10А или 16А.

elalex писал(а):Источник цитаты По-простому, при аварии обрыва ноля она подает опасное напряжение на сеть защитных проводников

Вы имеете ввиду аварию, при которой происходит повышение напряжения до 380В и выход из стоя всех электроприборов в квартире/доме?

Вероятно, что хлопоты по обустройству собственного заземления слишком большие, а вероятность аварии в случае использования стандартного варианта от застройщика не велика. Я ни в коем случае не оспариваю ваш опыт и знания, но почему я НЕ должен доверять застройщику? Мне кажется, никто из соседей не делал свое заземление, а пользуются общедомовым. Исключительно интуитивная догадка, но мне кажется, так и есть. Все мы в одной лодке. В крайнем случае, ну сгорит холодильник и блок питания компьютера, ну и ладно. :yes: Так же меня мучает вопрос- а законно ли делать свое заземление? Каким образом это делается? Кого-нибудь убьет на фиг от таких изысков...

Отвечаю на ваш вопрос- этаж 6-й, материал стен и перекрытий- монолитный железобетон.

Конечно я могу быть не прав и не претендую на истину. Я пришел просить помощи, вы мне стараетесь помочь и я это ценю. :wink: Но я подозреваю, что сделать собственное заземление сложно и не так уж и нужно. Вот что это мне напоминает- установка мощного фильтра на воду. Ведь в случае плохой очистки, вода в кране может быть опасной для здоровья. То и дело в СМИ появляются сообщения, что люди чем-то заразились от водопроводной воды. Фильтр на воду- хорошая в целом идея, но в большинстве случаев можно спокойно пользоваться той водой, которую "предоставил застройщик".

Не претендую на истину, просто излагаю свои дилетантские мысли на ваше предложение. :yes:

Rumato писал(а):Источник цитаты УЗО 63А-10мА не существует

Благодарю, не знал.

Rumato писал(а):Источник цитаты УЗО с током утечки на 32мА не существует

Понятия не имею, откуда закралась эта ошибка. Видимо спутал с величиной пропускаемого тока (32А) :sad:

Rumato писал(а):Источник цитаты Я уже сказал, ставите 2 УЗО 63А-30мА, под ними равномерно распределяете автоматы, свет то же под УЗО.

Под одним УЗО будет 40 м провода в общей сложности. Токи утечки будут превышены?

Могло бы быть в два раза меньше. Но я не использую распаечные коробки, а веду все провода прямо от щитка напрямую. Это связано с тем, что в квартире будет выполнена звукоизоляционная облицовка стен толщиной 8 см, а в ней не рекомендуется делать встроенные розетки. Ухудшается звукоизоляция. Будут накладные розетки. Не хочу ставить уродливые накладные распаечные коробки, лучше уж совсем без них. Сама проводка под облицовкой. Отсюда 40 м в сумме для одного УЗО.

TOPMO3 писал(а):Источник цитаты 36_ти модульный бокс, а это огромный размер ... в простенок влезет?

Никакого простенка нет, он просто вешается сбоку от входной двери в прихожей на стену (монолитнобетонную). Так что подойдет любого размера. НО! Я посмотрел цены на 36-ти модульные боксы и офигел от дороговизны! Какая-то пластмасска полторы тысячи...

TOPMO3 писал(а):Источник цитаты Вот вариант схемы на 24 модуля (возможно и это не влезет) ... обсуждайте.


В какой программе вы составили схему? Она платная? Я задолбался в "Пэйнте" рисовать.

Итак, ваша первая схема. Сразу бросается в глаза, что УЗО 25А на свет не защищен. Сумма обслуживаемых им автоматов 48А, вводной АВ тоже его не защищает. Вроде как так не рекомендуется делать. Во второй вашей схеме этот момент исправлен.

1) Вы из моей схемы выбросили отдельные автоматы на холодильнык, приточку и полотенцесушитель. Мне кажется удобным иметь возможность отключить электричество во всей квартире, а холодильник оставить включенным. Я немного отредактировал вашу схему: СВЧ + Печь + к ним прибавил розетки, которые раньше были на отдельном автомате. Вряд ли когда-нибудь в розетки будет включено что-то мощное, вместе с работающими одновременно СВЧ и печью, чтобы выбило автомат. Изменения выделил красным кружочком:

Мой.jpg


2) Приточки в вашем варианте нет. Хорошо, можно подрубить ее к одной из розеточных групп комнаты. Хотя делаю это с болью в сердце. Таким образом сохранится предложенный вами вариант разводки в комнате одним УЗО и тремя АВ.

3) Освещение можно сделать так: 10А для комнаты, чтобы хватило на мощную люстру с лампами накаливания. Впрочем, я не собираюсь устанавливать более 3-х ламп по 75 Вт (общ. 225 Вт). Для санузла и прихожей хватит и 6А, предложенных вами. Получится 25А УЗО защищен 6+6+10=22А автоматами. УЗО всего на 3А выше, чем сумма обслуживаемых им АВ. Мала разница? Стоит ли так делать?

4) Другой вариант- вообще повесить освещение санузла и прихожей на один АВ. Тогда хватит 10А на оба.

5) Полотенцесушитель. Т.к. подключение скрытное, должна быть возможность выключить его через щиток. Подключать к АВ стиральной машины не хочется: если захочется отключить стиралку, но оставить полотенцесушитель, это будет нельзя сделать. Можно использовать полотенцесушитель, подключаемый открытым способом (вилкой). Тем более, что розетка для стиралки находится прямо под полотенцесушителем. Не знаю, какие минусы у такого способа подключения.

Чертежа электрики в стандартном понимании у меня пока нет. Я все рисую в 3D-редакторе. Чтобы вы имели хоть какое представление о санузле, вот снимок. Напомню, в вашей схеме розетка и стиралка на отдельных АВ:

санузел.jpg
Аватара пользователя
Rumato
Сообщения: 739
Зарегистрирован: 23 июл 2015, 22:15
Репутация: 107
Откуда: Щелково МО
Контактная информация:

Как организовать щиток, чтобы он был функционален и не очень дорог?

Сообщение Rumato » 25 мар 2019, 00:17

Alex2019,
Я понятия не имею, какое отношение, длина проводов имеет к токам утечки. И зачем Вы вообще к этому параметру привязались. Огромное количество квартир вообще с одним УЗО живут и не считают метры проводников.
Всё что мог, я Вам сказал, заниматься болтологией я не буду, окончательное решение всё равно за Вами.
П.С. заземление в многоквартирном доме в принципе невозможно и крайне опасно.
https://instagram.com/dmytriy_kuskov
Аватара пользователя
elalex
Сообщения: 7423
Зарегистрирован: 21 июл 2015, 08:08
Репутация: 591
Откуда: [email protected]
Контактная информация:

Как организовать щиток, чтобы он был функционален и не очень дорог?

Сообщение elalex » 25 мар 2019, 02:13

Alex2019:
1.На розетки рабочей стороны кухни нужно подать 10-15кВт мощности, а в ванную (со стиралкой) 5кВт. Дело хозяйское - подавать их маломощными (3кВт) или мощными (5кВт) линиями. Я подаю мощными, с автоматами В20. Они так же не защищают розетки от перегруза, как и В16.
Розеток на 10А не видел никогда.
Среди электриков идут непрерывные споры, какие сечения какими номиналами защищать. Сильно точно посчитать практически невозможно. Существующий
ГОСТ Р 50571.5.52-2011. Электроустановки низковольтные. Часть 5-52. Выбор и монтаж электрооборудования. Электропроводки
----
хоть и намного более подробный в части способов прокладки кабелей, чем ПУЭ, но:
- рассчитан на номинальные параметры кабеля по ГОСТ
- почему-то не имеет столбца максимальных токовых нагрузок для типичного случая прокладки в штробе
- требует учета теплопроводности материала стены и температуры окружающей среды.
В таких условиях приходится полагаться исключительно на опыт эксплуатации. Другими словами: кто боится больше - ставит автоматы слабее.
2.Повышение до 380В и выход из строя всего - максимальные материальные последствия аварии обрыва ноля.
3.В вашей квартире заземление легко можно взять от арматуры стен.
4.Застройщики применяли для питания квартир медь, а всего дома - алюминий, где и происходил обрыв. Насколько велика вероятность обрыва - судить не берусь. Считаю - стоит потратить $20, чтобы гарантировать непоступление 380В в квартиру. Если у Вас нет $20, или Вам жалко - поиграйтесь в вероятность.
5.Не знаю, насколько велик Ваш жизненный опыт, но мой говорит, что мир состоит из сумасшедших и негодяев, и застройщики и соседи - в их числе. Поэтому я не рекомендую хозяевам доверять застройщикам своё имущество и жизнь, а в своем поведении рекомендую не ориентироваться на окружающих.
6.В доме заземление кончается в щитовой. Дальше по квартирам идёт нулевой защитный проводник, и эта терминология принципиальна.
7.Пусть при аварии обрыва ноля сгорит холодильник или компьютер - это признак очень легкомысленного отношения к своему имуществу и жизни. Если такое отношение характерно для Вас во всём, то навряд ли Вы поймёте необходимость полного набора защит.
При этой аварии не только сгорят аппараты, а поубивает всех, кто коснётся своих аппаратов.
8.Арматура дома - это как земля на частном земельном участке. Законно делать с ней что угодно электрическое? Если Вас пугает заземление от арматуры - рискуйте и берите защитный проводник от застройщика.
На форуме уже проходила дискуссия по заземлению от арматуры.
9.Почитайте, для чего нужно заземление и как оно работает. Конечно, если Вам наплевать на своё имущество, жизнь свою, и родных и близких - заземление Вам не нужно.
10.У нас разная идеология жизни. Вы ориентированы на вероятность, большинство случаев, мнение окружающих. Я ориентирован на гарантированное обеспечение надёжности и безопасности.
Скажем, я однозначно считаю водопроводную воду технической и опасной даже для сантехники. А для приготовления еды я её кипячу и фильтрую. Состоятельные люди делают обратный осмос.
11.Свободно излагайте всё, что думаете.
12.У ИЭК есть УЗО 63А,10мА: ВД1-63.
13.Токи утечки - ерунда, на которую не стоит обращать внимание.
14.Распаечные коробки - в которых пайки. Если паек нет, то они не распаечные, а соединительные.
Наружная соединительная коробка выглядит не уродливее, чем наружные розетки и выключатели. Тем более, если коробки под потолком.
Кстати, в нормальных домах на потолках квартир ставят пожарные извещатели и сирены, они случайно не выглядят уродливо? А некоторые жильцы ставят себе ещё и охранную сигнализацию с камерами, как Вам такая эстетика?
Неужели выбросите сигнализацию от застройщика? Вот это точно будет незаконно и опасно для всего дома.
При бескоробочном монтаже сильно увеличится расход кабелей.
15.Наружный монтаж розеток и выключателей поверх звукоизоляции - дело невиданное. Сделать можно, но предусмотреть проблемы сложно. Как будут идти кабели под звукоизоляцией - в стене или поверх стены?
Сильно подозреваю, что условия охлаждения кабелей в любом случае ухудшатся, и их нагрузки (и номиналы питающих автоматов) придётся снижать.
16.Распределительный щиток лучше ставить в центре электрических нагрузок, это около кухни. И лучше металлический, от того же ИЭК.
17.Никакой логики и необходимости делать неотключаемые группы нет. При полном наборе защит квартира не боится ничего. Боятся только меланхолики и параноики.
18.Освещение всей квартиры должно быть поделено на группы и помещения так, чтобы соседние помещения питались от разных групп. Автоматы разных групп должны питаться от разных УЗО.
В одном помещении розетки и освещение должны питаться от разных УЗО.
Даже обе половины люстры лучше бы питались от разных УЗО.
19.Не забывайте: 10А=2кВт. У вас какая-то группа освещения будет 2кВт?
20.Что за полотенцесушитель со скрытым подключением? Выключатель у него есть?
21.Как это отключение стиралки может зависеть от чего-то? Нельзя вынуть вилку?
22.Кстати, что в этажном щите? Туда заглядывали? Там ваш вводной автомат, гляньте - какой он. Ну, и фото вблизи, конечно.
Последний раз редактировалось elalex 25 мар 2019, 15:04, всего редактировалось 1 раз.
Одиночный свободный электрик
Опыт ремонтов квартир 20лет
Высшее электрическое образование
Бывший инженер-электрик
Пенсионер
64 года
Пишу для владельцев частного жилья
Запасной E–mail для россиян: [email protected]
Аватара пользователя
TOPMO3
Сообщения: 4181
Зарегистрирован: 29 фев 2016, 10:37
Репутация: 626
Откуда: Ижевск
Контактная информация:

Как организовать щиток, чтобы он был функционален и не очень дорог?

Сообщение TOPMO3 » 25 мар 2019, 11:32

Alex2019 писал(а):Никакого простенка нет, он просто вешается сбоку от входной двери в прихожей на стену (монолитнобетонную). Так что подойдет любого размера. НО! Я посмотрел цены на 36-ти модульные боксы и офигел от дороговизны! Какая-то пластмасска полторы тысячи...
И чо?
На сколько модулей, встраиваемый или нет ... какой желаете?
У дочери (однушка-новострой ... живут пятый год) щиток квартирный на, толи 6, толи 8 модулей, и никаких проблем.
В какой программе вы составили схему? Она платная? Я задолбался в "Пэйнте" рисовать.
http://forum-electrikov.ru/viewtopic.php?t=748 ... бесплатная.
Итак, ваша первая схема. Сразу бросается в глаза, что УЗО 25А на свет не защищен. Сумма обслуживаемых им автоматов 48А, вводной АВ тоже его не защищает. Вроде как так не рекомендуется делать. Во второй вашей схеме этот момент исправлен.
Какой смысл обсуждать первую схему, коли, я же, выкладываю измененную?
Козе понятно, что у Вас в однушке, не будут установлены прожектора_галогеннки ... автоматы (16А) попали туда (на свет) тупо, за счет копирования кусков, ранее нарисованной схемы.
1) Вы из моей схемы выбросили отдельные автоматы на холодильнык, приточку и полотенцесушитель.
Разве, всё Вами перечисленное, не включаются в розетки? На фига перечислять оборудование, когда можно просто сообщить о количестве розеток?
Мне кажется удобным иметь возможность отключить электричество во всей квартире, а холодильник оставить включенным.
Насчет нестандартного подключения холодильника - прописывается в описании (в техзадании) желаемой схемы ... то что Вы думаете нам не известно, тем более сами нарисовали холодильник отключаемым со всей квартирой.
Я немного отредактировал вашу схему: СВЧ + Печь + к ним прибавил розетки,
А СВЧ и печь имеют прямое подключение или тоже на розетках?
2) Приточки в вашем варианте нет.
Что за приточка такая? Повторюсь ... не вижу смысла прописывать на схеме всё оборудование, Ваша проточка входит в "розетки" ... или она у Вас подключается не через розетку?
3) Освещение можно сделать так: 10А для комнаты, чтобы хватило на мощную люстру с лампами накаливания. Впрочем, я не собираюсь устанавливать более 3-х ламп по 75 Вт (общ. 225 Вт). Для санузла и прихожей хватит и 6А, предложенных вами. Получится 25А УЗО защищен 6+6+10=22А автоматами. УЗО всего на 3А выше, чем сумма обслуживаемых им АВ. Мала разница? Стоит ли так делать?
4) Другой вариант- вообще повесить освещение санузла и прихожей на один АВ. Тогда хватит 10А на оба.
Лампы накаливания?.. "ноу комент".
5) Полотенцесушитель. Т.к. подключение скрытное, должна быть возможность выключить его через щиток. Подключать к АВ стиральной машины не хочется: если захочется отключить стиралку, но оставить полотенцесушитель, это будет нельзя сделать. Можно использовать полотенцесушитель, подключаемый открытым способом (вилкой). Тем более, что розетка для стиралки находится прямо под полотенцесушителем. Не знаю, какие минусы у такого способа подключения.
Вас только "минусы" надо? Чем не устраивает двухрозеточный блок ... пушшай оба будут подключены ... отключайте какой хотите.
Вот лично у меня, по всей квартире отсутствуют одинарные розетки ... везде блоки "треугольники".
Напомню, в вашей схеме розетка и стиралка на отдельных АВ:
У Вас, вааще то, на бритву отдельный автомат ... объединил Ваши, "полотенцесушилка" и "бритва" под слово "розетки" ... моя ошибка, надо было объединить еще слово "стиралка" - туда же ... и всё под один автомат на 16А.
Вам предоставлена схема щитка (второй вариант) ... распределяйте оборудование по ней (если согласны с ней)
Смеюсь последний ... тормоз однако!
Аватара пользователя
elalex
Сообщения: 7423
Зарегистрирован: 21 июл 2015, 08:08
Репутация: 591
Откуда: [email protected]
Контактная информация:

Как организовать щиток, чтобы он был функционален и не очень дорог?

Сообщение elalex » 25 мар 2019, 14:04

Alex2019 :
Если Вам трудно нарисовать ерундовскую схему в Paint, то как Вы будете делать ремонт? Или делать будет кто другой?
Одиночный свободный электрик
Опыт ремонтов квартир 20лет
Высшее электрическое образование
Бывший инженер-электрик
Пенсионер
64 года
Пишу для владельцев частного жилья
Запасной E–mail для россиян: [email protected]
Alex2019
Сообщения: 9
Зарегистрирован: 22 мар 2019, 18:51
Репутация: 1
Контактная информация:

Как организовать щиток, чтобы он был функционален и не очень дорог?

Сообщение Alex2019 » 25 мар 2019, 21:58

За ответы на мои вопросы благодарю всех ответивших. Комментировать все пункты не буду, т.к. мало времени, но ответы приняты к сведению.

Кто-нибудь может сказать, сколько влезет в мой щиток? Есть только одна фотка (в начале темы) и размеры: ширина-30см, высота-40 см. Посмотреть в живую не могу.

TOPMO3 писал(а):Источник цитаты Лампы накаливания?.. "ноу комент".

У светодиодов менее естественный свет, мне он не нравится. Пик в синей области спектра.

TOPMO3 писал(а):Источник цитаты Чем не устраивает двухрозеточный блок

Да, так и сделаю. Машинку и полотенцесушитель подключу в один блок розеток.

СВЧ и печь с обычным подключением вилкой.

А вот приточка должна быть со скрытым подключением. Т.е. НЕ с помощью вилки. Поэтому хотел отдельный автомат. Какая это будет приточка- не знаю. Может Тион, а может подешевле самодельная (фильтры + вентилятор + ТЭН для подогрева).

Наверное разумно действительно стиралку, полотенцесуш. и розетку для бритвы на один автомат В16 повесить. А в освободившееся место вставить автомат для приточки.

elalex писал(а):Источник цитаты Если Вам трудно нарисовать ерундовскую схему в Paint

Схему чего? Электрики? Она ведь еще не спланирована :wink:

elalex писал(а):Источник цитаты Не забывайте: 10А=2кВт. У вас какая-то группа освещения будет 2кВт?

Никакая. Максимум ватт 300.

elalex писал(а):Источник цитаты Кстати, что в этажном щите? Туда заглядывали? Там ваш вводной автомат, гляньте - какой он. Ну, и фото вблизи, конечно.

В начале темы выкладывал фото автомата из щитка этажного. Там только автомат С63 и счетчик. Вот он:
Вложения
1.jpg
Аватара пользователя
elalex
Сообщения: 7423
Зарегистрирован: 21 июл 2015, 08:08
Репутация: 591
Откуда: [email protected]
Контактная информация:

Как организовать щиток, чтобы он был функционален и не очень дорог?

Сообщение elalex » 26 мар 2019, 04:33

1.Измерьте длину Din-рейки и поделите на 17,5мм - столько модулей влезет.
Как это "Посмотреть вживую не могу"?
2.У Вас неправильное понимание естественного света. Он не имеет никакого отношения к спектру. Найдите в словарях.
3.Можно выбрать светодиоды с любой цветовой температурой.
Рекомендуется в часы бодрствования более высокая, а в часы успокаивания - более низкая цветовая температура. Т.е. лучше бы светильники были 2-цветные.
4.В 2-розеточном блоке ощутимо (в 2 раза) хуже контакты в месте втыкания вилки. Контакт подключения проводов выполнен не лучшим образом - нельзя сделать колечко вокруг винта.
Блок может быть нагружен не больше, чем одиночная розетка.
5.Чего это приточка должна быть подключена скрыто? Сделать ей отдельную линию проще, чем поставить ей отдельную розетку?
6.В розетку для бритвы могут включить фен?
7.Возможно появление в ванной водонагревателя?
8.Компоновка щитка - последнее дело.
9.А какая схема была нарисована? Разве не спланированная?
10.Если освещение всего 300Вт - зачем разговоры про автомат 10А?
11.Клеммы вводного автомата на лестнице пломбированные?
Защитная характеристика должна быть D, номинал - под сечение вводного кабеля.
Достаточно и 1 полюса.
Одиночный свободный электрик
Опыт ремонтов квартир 20лет
Высшее электрическое образование
Бывший инженер-электрик
Пенсионер
64 года
Пишу для владельцев частного жилья
Запасной E–mail для россиян: [email protected]
Аватара пользователя
TOPMO3
Сообщения: 4181
Зарегистрирован: 29 фев 2016, 10:37
Репутация: 626
Откуда: Ижевск
Контактная информация:

Как организовать щиток, чтобы он был функционален и не очень дорог?

Сообщение TOPMO3 » 26 мар 2019, 10:08

Alex2019 писал(а):Источник цитатыКто-нибудь может сказать, сколько влезет в мой щиток? Есть только одна фотка (в начале темы) и размеры: ширина-30см, высота-40 см. Посмотреть в живую не могу.
Дык ... на Вашем фото видно, сколько УЖЕ влезло ... три УЗО + три автомата = девяти_модульный ящик ... только не видно, навесной или встроенный.
Что, решили обойтись этим щитком ... ?
А вот приточка должна быть со скрытым подключением. Т.е. НЕ с помощью вилки. Поэтому хотел отдельный автомат. Какая это будет приточка- не знаю. Может Тион, а может подешевле самодельная (фильтры + вентилятор + ТЭН для подогрева).
А чем объясняется сие требование?
Тот же, упомянутый Вами ТИОН, имеет вилку от производителя ... будете отрезать чо-ли? И как Вы это себе представляете ... трехжильный, жесткий кабель, торчит из стены ... к нему будете подключать гибкие выводы от приточника и картиной Шишкина, закрывать эту порн...графити?
Насчет "отдельный автомат" - согласен, если Вы конкретно будете приобретать с подогревом, а иначе ... на 50Вт_ную нагрузку - свой автомат - смешно.
Наверное разумно действительно стиралку, полотенцесуш. и розетку для бритвы на один автомат В16 повесить. А в освободившееся место вставить автомат для приточки.
Я Вам писал ... вторая схема потому и такая ... её не надо перерисовывать, а только переназначать автоматы. Пробуйте у себя распределить, то что нарисовано ... потом можно будет скорректировать изменения.
elalex писал(а):Источник цитаты Не забывайте: 10А=2кВт. У вас какая-то группа освещения будет 2кВт?

Никакая. Максимум ватт 300.
Предлагаю свет всей квартиры запитать от одного автомата на 6 ампер.
Смеюсь последний ... тормоз однако!
Alex2019
Сообщения: 9
Зарегистрирован: 22 мар 2019, 18:51
Репутация: 1
Контактная информация:

Как организовать щиток, чтобы он был функционален и не очень дорог?

Сообщение Alex2019 » 26 мар 2019, 21:32

TOPMO3 писал(а):Источник цитаты Я Вам писал ... вторая схема потому и такая ... её не надо перерисовывать, а только переназначать автоматы. Пробуйте у себя распределить, то что нарисовано ... потом можно будет скорректировать изменения.

Хорошо. Спасибо еще раз.

TOPMO3 писал(а):Источник цитаты Предлагаю свет всей квартиры запитать от одного автомата на 6 ампер.

Может тогда уж автоматом на 10 ампер? Сечения провода 1.5мм2 должно хватить на такую мощность.Зато запас будет на любые изыски.
Во-вторых, если выбьет где-то свет (в ванной, комнате) выбьет свет во всей квартире и я останусь в темноте... Что не хорошо. Лучше тогда свет в прихожей объединить со светом в санузле под один автомат. Выиграется одно дополнительное место.

TOPMO3 писал(а):Источник цитаты Насчет "отдельный автомат" - согласен, если Вы конкретно будете приобретать с подогревом

Именно приточка с подогревам. Мощность у Тиона около 1.5 квт, поэтому я тоже думаю, что нужен отдельный автомат.

TOPMO3 писал(а):Источник цитаты на Вашем фото видно, сколько УЖЕ влезло ... три УЗО + три автомата = девяти_модульный ящик ... только не видно, навесной или встроенный.
Что, решили обойтись этим щитком ... ?

Да, этим... Щиток навесной. 9 влезло, но на фото видно, что еще есть расстояние между ними. Возможно, туда вместится больше. Наверное придется еще раз туда съездить и точно измерить длину посадочной планки в щитке. Если туда вмещается 24 (по 12 на планку) ,то тогда вообще нет проблем- ставлю два дополнительных автомата на розетку в ванной под бритву/фен и отдельную под приточку и готово!

elalex писал(а):Источник цитаты Клеммы вводного автомата на лестнице пломбированные?

Кажется, нет. Пломбы на счетчике.

elalex писал(а):Источник цитаты Если освещение всего 300Вт - зачем разговоры про автомат 10А?

Запас... Провода-то все равно 1.5мм2 рассчитаны на 10А.

elalex писал(а):Источник цитаты А какая схема была нарисована? Разве не спланированная?

Нет, я все рисую в 3Д-редакторе. Экспериментирую постоянно двигаю розетки, приборы... Перевести все это в плоский чертеж- отдельная работа.

elalex писал(а):Источник цитаты Возможно появление в ванной водонагревателя?

Возможно. Пока решил повременить с его установкой по финансовым причинам. Как понимаю, на водонагреватель (например, проточный 8 квт) придется делать отдельную линию + отдельный автомат + отдельный УЗО на 10мА. Правильно?

elalex писал(а):Источник цитаты В розетку для бритвы могут включить фен?

Вполне. Делать отдельной линией от стиралки?

elalex писал(а):Источник цитаты Чего это приточка должна быть подключена скрыто? Сделать ей отдельную линию проще, чем поставить ей отдельную розетку?

TOPMO3 писал(а):Источник цитаты упомянутый Вами ТИОН, имеет вилку от производителя ... будете отрезать чо-ли? И как Вы это себе представляете

Можно розеткой, а можно и отрезать и сделать скрытую. Я пока не особо задумывался. В любом случае, нужна отдельная линия- так написано на офф. сайте: https://tion.ru/help/faqs/#montazh-ustanovka

elalex писал(а):Источник цитаты В 2-розеточном блоке ощутимо (в 2 раза) хуже контакты в месте втыкания вилки. Контакт подключения проводов выполнен не лучшим образом - нельзя сделать колечко вокруг винта.
Блок может быть нагружен не больше, чем одиночная розетка.

Неужели производители не могли сделать нормальное подключение проводов? Спасибо за предупреждение. В любом случае, сечение провода остается одинаковым хоть для двойных, хоть для тройных и т.д. розеток, что ограничивает мощность.

elalex писал(а):Источник цитаты Измерьте длину Din-рейки и поделите на 17,5мм - столько модулей влезет.
Как это "Посмотреть вживую не могу"?

Согласен, надо съездить измерить точно эту Din-рейку. Или урезать количество автоматов на освещение, другие розетки, чтобы освободить место под автомат для приточки и розетки в ванной для бритвы/фена. Или там места хватит для всего и не надо больше ничего урезать.
Аватара пользователя
elalex
Сообщения: 7423
Зарегистрирован: 21 июл 2015, 08:08
Репутация: 591
Откуда: [email protected]
Контактная информация:

Как организовать щиток, чтобы он был функционален и не очень дорог?

Сообщение elalex » 27 мар 2019, 04:48

Alex2019:
1.ТОРМОЗ - типичный совок, привыкший обходиться минимумом удобств, отсюда и предложение про 1 группу освещения.
2.Плана по-прежнему нет, так что полноценные ответы давать не получается. Продолжайте держать форум в неведении.
3.Зачем Вам сечение 1,5мм² на освещение?
Какие такие изыски могут быть с освещением сверх запланированных 300Вт?
Автомат минимального тока на освещение выбирается из желания ограничить размеры последствий КЗ внутри светильников. Если несложно - лучше вообще поставить автомат 2-3А.
4.Когда в голове уживаются 2 противоположные идеи (мания отдельных линий и желание сэкономить) - это шизофрения.
5.Повторяю: компоновка щитка - последнее дело.
Про экономию места можно будет думать, если:
- размеры щитка категорически ограничены, что явный идиотизм
- уменьшение количества автоматов на 1-2шт. вызывает сокращение количества рядов.
6.Если решили ограничиться 1-рядным щитком - зачем все эти наши разговоры? Впустую? Нужно их прекращать?
Одиночный свободный электрик
Опыт ремонтов квартир 20лет
Высшее электрическое образование
Бывший инженер-электрик
Пенсионер
64 года
Пишу для владельцев частного жилья
Запасной E–mail для россиян: [email protected]
Аватара пользователя
TOPMO3
Сообщения: 4181
Зарегистрирован: 29 фев 2016, 10:37
Репутация: 626
Откуда: Ижевск
Контактная информация:

Как организовать щиток, чтобы он был функционален и не очень дорог?

Сообщение TOPMO3 » 27 мар 2019, 10:53

elalex писал(а):Alex2019:1.ТОРМОЗ - типичный совок, привыкший обходиться минимумом удобств, отсюда и предложение про 1 группу освещения.
ТОРМОЗ - типичный реалист, понимающий, что в однокомнатной квартире, даже при пропадания света, очень тяжело заблудиться (в темноте) ... да и никто не отменял наличие розеточного "ночника" или настольной лампы ... пульт телевизора всегда под рукой ... включи телевизор - гарантирую, что хватит света ... ну и тупой же ты елалекс ... аффигеть!
Ага ... те схемы рисовал, стараясь выполнить все "хотелки" автора темы ... а вот такую бы собрал для себя, если бы у меня были такие же пожелания. :biggrin:
000.jpg
Смеюсь последний ... тормоз однако!
Аватара пользователя
elalex
Сообщения: 7423
Зарегистрирован: 21 июл 2015, 08:08
Репутация: 591
Откуда: [email protected]
Контактная информация:

Как организовать щиток, чтобы он был функционален и не очень дорог?

Сообщение elalex » 27 мар 2019, 11:15

До совков не доходит, что современный человек окружает себя не минимумом, а максимумом удобств. Он не желает бродить в темноте вообще или подсвечивать себе фонариком или телевизором.
Я имел дело с селянкой, которой поручили организовать ремонт квартиры-новостройки в большом городе. Селянка не посчитала нужным поменять места выключателей и розеток, и сами розетки и выключатели, изготовления общества слепых.
Одиночный свободный электрик
Опыт ремонтов квартир 20лет
Высшее электрическое образование
Бывший инженер-электрик
Пенсионер
64 года
Пишу для владельцев частного жилья
Запасной E–mail для россиян: [email protected]


  • Реклама

Вернуться в «Прочие вопросы по электромонтажу»

Кто сейчас на конференции

Сейчас этот форум просматривают: нет зарегистрированных пользователей и 9 гостей