кви-45 писал(а):Источник цитаты Если вчитаться, в написанное Вами,в голову приходит какая то ересь ... можно прийти к выводу, что при КЗ ... автоматы не будут отключаться если отсутствует СУП.
Объясняю. Да, если не сделать систему уравнивания потенциалов всех токопроводящих частей , допустим в ванной какую-то токопроводящую стороннюю часть (к примеру трубу, не соединенную с землей) мы не включим в ДСУП и к несчастью на нее попала фаза , КЗ не будет , а будет кердык для человека , который прикоснется к этой трубе и какой-то токопроводящей части включенной в ДСУП. Это указанно п.1.7.8. ПУЭ
Представьте себе щит учета с вводным автоматом на трубостойке ... потом кабель до щита распределительного и тама "деление" ... зачем там делать "повторку", где озвучены такие требования?кви-45 писал(а):Источник цитаты Не согласен. Повторку можно рассматривать отдельно , а «разделение без повторного заземления – НЕЛЬЗЯ!
Вы всё время утверждаете, что наличие "повторки" и есть признак системы TN-C-S, а на самом деле "повторка" применяется вне систем ... уже после него выбирается система (TN-C-S или TT ... выше уже писал, в "однофазке" TN-C запрещена).ПУЭ 6(2000) писал(а):1.7.63. ... На концах ВЛ (или ответвлений от них) длиной более 200 м, а также на вводах ВЛ к электроустановкам, которые подлежат занулению, должны быть выполнены повторные заземления нулевого рабочего провода ...
Вы похоже тоже любите писать обо всём, даже тогда,когда требуется рассмотреть, конкретный для какого то места, вопрос.кви-45 писал(а):Источник цитатыС этим объяснением вы согласны или что-то не так.
TOPMO3 писал(а):Источник цитаты кви-45 писал(а):Источник цитаты Не согласен. Повторку можно рассматривать отдельно , а «разделение без повторного заземления – НЕЛЬЗЯ!
Представьте себе щит учета с вводным автоматом на трубостойке ... потом кабель до щита распределительного и тама "деление" ... зачем там делать "повторку", где озвучены такие требования?
TOPMO3 писал(а):Источник цитаты Короче, таким же макаром, я могу сказать, что нельзя занулять (т.е. ответвлять нуль, для получения защитного проводника) без "повторки"!
TOPMO3 писал(а):Источник цитаты кви-45 писал(а):Источник цитаты С этим объяснением вы согласны или что-то не так.
Вы похоже тоже любите писать обо всём, даже тогда,когда требуется рассмотреть, конкретный для какого то места, вопрос.У вас лично, в гараже, ванна оборудована что ли, или имеются трубопроводы магистральные? О каком СУП_е ведете речь ... для гаража! И теперя, если не зделает, у него автоматы при КЗ не отработают ... ага?
1. Пусть будет чистый;кви-45 писал(а):Источник цитатыTOPMO3 писал(а):Источник цитаты кви-45 писал(а):Источник цитаты Не согласен. Повторку можно рассматривать отдельно , а «разделение без повторного заземления – НЕЛЬЗЯ!
Представьте себе щит учета с вводным автоматом на трубостойке ... потом кабель до щита распределительного и тама "деление" ... зачем там делать "повторку", где озвучены такие требования?
Для полного представления хотел бы уточнить :
1. Это чистый щит учета , где установлен только вводный автомат и эл. счетчик? 2. Повторный заземлитель около трубостойки сделан , если да то куда он присоединен и какое его сопротивление . 3. Разделение ПЕН провода предполагается делать в распределительном щите дома?
А зачем пункт 102 поминаете? Когда Вы схемы рисовали (с занулением и без), Вы квартиры указывали. Доказывали, что одна из схем не TN-C-STOPMO3 писал(а):Источник цитаты Короче, таким же макаром, я могу сказать, что нельзя занулять (т.е. ответвлять нуль, для получения защитного проводника) без "повторки"!
Да, нельзя, что указано в пункте 1.7.102 ПУЭ

TOPMO3 писал(а):Источник цитаты как видите около "деления" нет "повторки" и она не нужна.)
TOPMO3 писал(а):Источник цитаты Когда Вы схемы рисовали
TOPMO3 писал(а):Источник цитаты А зачем пункт 102 поминаете? Когда Вы схемы рисовали (с занулением и без), Вы квартиры указывали
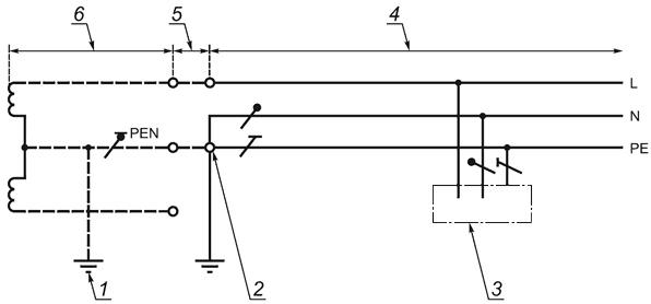
TOPMO3 писал(а):Источник цитаты (вот, по шустрому, накидал схему ... как видите около "деления" нет "повторки" и она не нужна.)
кви-45 писал(а):Источник цитаты Как нет повторки? Она , как ей и положено сделана в вводном ящике. А вот дальше самое интересное ваша схема будет справедлива только в одном случае из двух , все зависит от того какая у вас нарисована система - трехфазная или однофазная. Интересно это какая у вас система.
А что, не можете разглядеть количество проводов, на вводном автомате?кви-45 писал(а):Источник цитаты... ваша схема будет справедлива только в одном случае из двух , все зависит от того какая у вас нарисована система - трехфазная или однофазная. Интересно это какая у вас система.
Если Вы хозяин этой электроустановки и "сделаете так", то Вы сами себе "злобный Буратино" ... если сделаете кому-то, значит Вы преступник.Константин писал(а):Источник цитатыА если я так сделаю? Что меня остановит..или тч, что тогда спасет других?
Вы второй раз подключаетесь к разговору, не разобравшись в нюансах ...
на это его ответ ...TOPMO3 писал(а):Источник цитаты... "разделение" и "повторка" - это не "народ и партия", а разные вещи и что они могут быть рядом или могут быть раздельно.
кви-45 писал(а):Источник цитаты... Не согласен. Повторку можно рассматривать отдельно , а «разделение без повторного заземления – НЕЛЬЗЯ!

TOPMO3 писал(а):Источник цитаты Вы второй раз подключаетесь к разговору, не разобравшись в нюансах ...
TOPMO3 писал(а):Источник цитаты а разные вещи и что они могут быть рядом или могут быть раздельно.
Константин писал(а):Источник цитаты НО. То что вы нарисовали схематично не правильно и опасно. Я показал на этом рисунке почему.
То есть, Вы, своим рисунком, утверждаете, что ПУЭ и тем более ГОСТ_ы написаны в расчете на идиотов, которые могут перепутывать провода?Константин писал(а):Источник цитаты... Суть такова. безопасность. Повторное заземление в месте деления поможет сформировать условие для сработки аппарата защиты.
... То что вы нарисовали схематично не правильно и опасно. Я показал на этом рисунке почему.
где первая половина пункта говорит:ПУЭ-7 писал(а):п.1.7.78. При выполнении автоматического отключения питания в электроустановках напряжением до 1 кВ все открытые проводящие части должны быть присоединены к глухозаземленной нейтрали источника питания, если применена система TN ... и заземлены, если применены системы IT или ТТ.
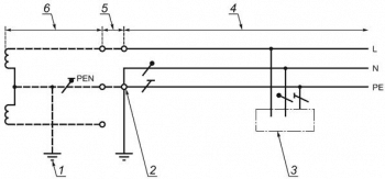
Возьмите линейку и замерьте расстояния между тремя точками на схеме (рис 31В3) 1, 2 и 3 ... хотя я и так, на глаз вижу, что расстояние между 1 и 2 меньше, чем между 2 и 3.кви-45 писал(а):Источник цитатыПолностью согласен с Константином , по схеме ТОРМОЗА оборудование будет работать , но корпуса этого оборудования будут все под напряжением. Поэтому в однофазке так делать нельзя , это указано в ГОСТ Р 50571.1 -2009 рис.31В3
там четко указано ПЕН разделяется в точке , где подключен повторный заземлитель.

Вернуться в «Заземление и молниезащита»
Сейчас этот форум просматривают: Google [Bot] и 13 гостей