Найдите ошибки если они есть

Проектирование внутреннего электроснабжения квартир, домов, коттеджей и т.п. Нормы, типовые проекты, расчеты, делимся своими проектами.
Дим78
Сообщения: 9
Зарегистрирован: 13 окт 2017, 05:03
Репутация: 3
Контактная информация:

Найдите ошибки если они есть

Сообщение Дим78 » 14 окт 2017, 11:18

ант@нио писал(а):Источник цитаты
Дим78 писал(а):Источник цитаты один на всю квартиру, провода вводные сечением 4мм2.

Не проще в квартиру затянуть один кабель,но 6-10мм.?

Один проще затянуть, но можно ли? От стояка к счётчику и далее на два автоматы идут алюминиевые провода сечением 4мм2. Можно или нет пускать после провода в 4мм2 кабель в 6мм2?
Реклама
Дим78
Сообщения: 9
Зарегистрирован: 13 окт 2017, 05:03
Репутация: 3
Контактная информация:

Найдите ошибки если они есть

Сообщение Дим78 » 14 окт 2017, 11:22

ант@нио писал(а):Источник цитаты Судя по кол-ву УЗО,вы состоятельный человек?) Тогда нужно посерьезней подойти к этому делу!

Среднего достатка, квартиру взял в ипотеку весной этого года. Если можно уменьшить количество УЗО-уменьшу.Можно ли к одному УЗО на 20А подключить допустим водонагреватель и стиралку через 2 автомата как на схеме?
Аватара пользователя
elalex
Сообщения: 7423
Зарегистрирован: 21 июл 2015, 08:08
Репутация: 591
Откуда: [email protected]
Контактная информация:

Найдите ошибки если они есть

Сообщение elalex » 14 окт 2017, 13:32

кви-45:
В моем определении селективности нет отлаженной работы нескольких приборов, и определения места отключившегося автомата. Вот в этом и вся разница в нашем понимании. Понадобилась стычка, чтобы в этом разобраться.
Одиночный свободный электрик
Опыт ремонтов квартир 20лет
Высшее электрическое образование
Бывший инженер-электрик
Пенсионер
64 года
Пишу для владельцев частного жилья
Запасной E–mail для россиян: [email protected]
Аватара пользователя
elalex
Сообщения: 7423
Зарегистрирован: 21 июл 2015, 08:08
Репутация: 591
Откуда: [email protected]
Контактная информация:

Найдите ошибки если они есть

Сообщение elalex » 14 окт 2017, 14:04

Дим78:
Существовавшее на этом месте сообщение существенно скорректировано и выложено ниже.
Последний раз редактировалось elalex 14 окт 2017, 18:35, всего редактировалось 1 раз.
Одиночный свободный электрик
Опыт ремонтов квартир 20лет
Высшее электрическое образование
Бывший инженер-электрик
Пенсионер
64 года
Пишу для владельцев частного жилья
Запасной E–mail для россиян: [email protected]
Дим78
Сообщения: 9
Зарегистрирован: 13 окт 2017, 05:03
Репутация: 3
Контактная информация:

Найдите ошибки если они есть

Сообщение Дим78 » 14 окт 2017, 18:24

elalex писал(а):Источник цитаты Дим78:
1.Нужно будет проверить, подходит ли Вам существующий вводной автомат 63А: померять сопротивление входящей линии на входе в квартирный щиток, и посчитать ток КЗ.
Методика описана в теме:
Выбор вводного автомата
viewtopic.php?t=54
2.Пора уже писать не только номиналы автоматов, а и их защитные характеристики.
3.Иметь 2 входящие линий по сравнению с одной хуже тем, что нельзя потребителей одной линии без переборки квартирного щитка - перебросить на другую линию.
4.Чтобы из 2 линий сделать одну - необязательно лезть в счетчик. Выходящие из счетчика провода соединяются с новой одной линией снаружи счетчика.
5.О виде этой одной линии.
Если существующий вводной автомат 63А выбран не с потолка и соответствует мощности стояковых проводов, то вы сможете взять со стояка 16кВт мощности. Лишняя мощность не помешает никогда, но для ее передачи в квартиру нужно сечение меди 16кв. Работать с такими сечениями трудно, и я в таких случаях, как у вас, применяю параллельное включение 2 жил по 6кв.
Сразу же возникает проблема защиты 2 жил. Если верить, что они одинаковые, и ни одна из них никогда не оборвется, то достаточно и существующего вводного автомата 63А. Но если есть сомнение - нужно защищать каждую жилу отдельным полюсом. С учетом и нулевых жил - после счетчика должен стоять 4-полюсный автомат 32А.
6.Накопительные водонагреватели обычно бывают 1,5 и 2кВт. О емкости можем поговорить.
Можем поговорить и о проточном типе.
7.Любые электрические покупки, сделанные без нашего ведома и согласия, могут создать для Вас тяжелые проблемы.
8.Что это за квартира по ипотеке с алюминиевой проводкой? Дом старый?
9.Автомат 63А не защищает алюминий 4кв. Что выходит из счетчика? Пора давать фото.
10.Я делю нагрузку квартиры на 2-3 УЗО максимального тока 63А.

Начнём с квартиры.Вы думаете что все квартиры с медной проводкой, Вы немного ошибаетесь. Насколько мне известно процентов 50 квартир с алюминиевой проводкой, люди живут и проблем не знают.В том что вы грамотный электрик я не сомневаюсь а в остальном Вы сильно всё усложняете и запутываете. Вся электрика в квартире работает нормально и с алюминиевой проводкой и с старыми автоматами. Просто начать ремонт решил с замены проводки и спросить совета у грамотных людей.Не надо мерить сопротивление и высчитывать ток к.з., и не надо писать что любые покупки сделанные без вашего ведома доставят проблемы. У меня голова на плечах тоже есть и руки растут откуда надо. А накопительные водонагреватели я видел и на 2.7кВт.Я задал всего пару вопросов а вы из них сделали 20 вопросов.Если можете по существу ответить -отвечайте.
Последний раз редактировалось Дим78 14 окт 2017, 18:35, всего редактировалось 1 раз.
Аватара пользователя
elalex
Сообщения: 7423
Зарегистрирован: 21 июл 2015, 08:08
Репутация: 591
Откуда: [email protected]
Контактная информация:

Найдите ошибки если они есть

Сообщение elalex » 14 окт 2017, 18:33

Дим78:
1.Небыстрые размышления говорят, что номинал существующего водного автомата 63А взят с потолка: под алюминий 4кв. нужно ставить 20А, максимум 25А, скорее всего лучше c защитной характеристикой D. Соответственно потреблять сможете 5кВт, максимума 6кВт - для современной квартиры негусто. Мощные электроприборы придется ставить по минимуму, про нормальную варочную поверхность забыть.
На всякий случай лучше померять сопротивление входящей линии на входе в квартирный щиток, и посчитать ток КЗ.
Методика описана в теме:
Выбор вводного автомата
viewtopic.php?t=54
2.Пора уже писать не только номиналы автоматов, а и их защитные характеристики.
3.Иметь 2 входящие линий по сравнению с одной хуже тем, что нельзя потребителей одной линии без переборки квартирного щитка - перебросить на другую линию.
4.Чтобы из 2 линий сделать одну - необязательно лезть в счетчик. Выходящие из счетчика провода соединяются с новой одной линией 2х4 кв.мм снаружи счетчика.
5.Если когда-то счетчик по какой-то причине будут менять - вымете из него алюминий и вставите медь.
6.Накопительные водонагреватели обычно бывают 1,5 и 2кВт. О емкости можем поговорить.
Проточный тип будет слабый и неудобный в пользовании.
7.Любые электрические покупки, сделанные без нашего ведома и согласия, могут создать для Вас тяжелые проблемы.
8.Что это за квартира по ипотеке с алюминиевой проводкой? Дом старый?
9.Я делю нагрузку квартиры на 2-3 УЗО максимального тока 63А.
Последний раз редактировалось elalex 18 окт 2017, 13:35, всего редактировалось 1 раз.
Одиночный свободный электрик
Опыт ремонтов квартир 20лет
Высшее электрическое образование
Бывший инженер-электрик
Пенсионер
64 года
Пишу для владельцев частного жилья
Запасной E–mail для россиян: [email protected]
Дим78
Сообщения: 9
Зарегистрирован: 13 окт 2017, 05:03
Репутация: 3
Контактная информация:

Найдите ошибки если они есть

Сообщение Дим78 » 14 окт 2017, 18:51

elalex писал(а):Источник цитаты Дим78:
1.Небыстрые размышления говорят, что номинал существующего водного автомата 63А взят с потолка: под алюминий 4кв. нужно ставить 20А, максимум 25А, скорее всего лучше c защитной характеристикой D. Соответственно потреблять сможете 5кВт, максимума 6кВт - для современной квартиры негусто. Мощные электроприборы придется ставить по минимуму, про нормальную варочную поверхность забыть.
На всякий случай лучше померять сопротивление входящей линии на входе в квартирный щиток, и посчитать ток КЗ.
Методика описана в теме:
Выбор вводного автомата
viewtopic.php?t=54
2.Пора уже писать не только номиналы автоматов, а и их защитные характеристики.
3.Иметь 2 входящие линий по сравнению с одной хуже тем, что нельзя потребителей одной линии без переборки квартирного щитка - перебросить на другую линию.
н
4.Чтобы из 2 линий сделать одну - необязательно лезть в счетчик. Выходящие из счетчика провода соединяются с новой одной линией 2х4 кв.мм снаружи счетчика.
5.Если когда-то счетчик по какой-то причине будут менять - вымете из него алюминий и вставите медь.
6.Накопительные водонагреватели обычно бывают 1,5 и 2кВт. О емкости можем поговорить.
Проточный тип будет слабый и неудобный в пользовании.
7.Любые электрические покупки, сделанные без нашего ведома и согласия, могут создать для Вас тяжелые проблемы.
8.Что это за квартира по ипотеке с алюминиевой проводкой? Дом старый?
9.Я делю нагрузку квартиры на 2-3 УЗО максимального тока 63А.

Возможно и с потолка , я не знаю но стоит такой какой есть. Включаю 2 комфорки и духовку , мою нагрузку держат автоматы нормально, ничего выбивает и не греется.Лезть в щиток что-то там переделывать сам несобираюсь а нанимать электрика тем более.По существу.Если есть возможность уменьшить количество УЗО я уменьшу.Если я поставлю 3 УЗО,одно на варочную 32А, второе на ванную и туалет 20А а третье на остальные розетки номиналом 32А так нормально будет?
Аватара пользователя
elalex
Сообщения: 7423
Зарегистрирован: 21 июл 2015, 08:08
Репутация: 591
Откуда: [email protected]
Контактная информация:

Найдите ошибки если они есть

Сообщение elalex » 14 окт 2017, 18:56

1.Взгляды любителей и профессионалов на жизнь совершенно разные. Скажем, профессионалы знают про массу проблем с алюминиевой проводкой, поэтому в квартирах ее запретили.
2.Так же и с безопасностью - любители не знают про статистику несчастных случаев, либо игнорируют ее, не ценя своей жизни и жизни своих родных и близких, а электрики заботятся о ее сохранении в 10 раз больше жильцов.
3.Я усложняю в соответствии со статистикой повреждений электрооборудования от разных причин и статистикой несчастных случаев. Если Вы фаталист и не верите, что Вас может убить током - вполне можете отказаться от моих советов.
4.Электрика - вещь достаточно запутанная и требует определенных усилий, чтобы понять и оценить опасности,и определиться с необходимостью защиты от них. Мои схемы не катастрофически сложные и дорогие.
5.Не сомневаюсь - существующая электрика квартиры работает ужасно, вы живете на пороховой бочке и не знаете об этом.
6.Ваша голова на плечах знает про электрику квартиры в 100 раз меньше, чем моя. И руки голове никак не помогут. Поможет только знание всех проблем и опыт их решения.
7.Да, в электрике квартиры 50 проблем, и я готовлю Вас решать их. Так у всех, и некоторым не нравится сложность электрики, они ждут простых ответов на сложные вопросы.
Одиночный свободный электрик
Опыт ремонтов квартир 20лет
Высшее электрическое образование
Бывший инженер-электрик
Пенсионер
64 года
Пишу для владельцев частного жилья
Запасной E–mail для россиян: [email protected]
Аватара пользователя
elalex
Сообщения: 7423
Зарегистрирован: 21 июл 2015, 08:08
Репутация: 591
Откуда: [email protected]
Контактная информация:

Найдите ошибки если они есть

Сообщение elalex » 14 окт 2017, 19:08

1.Это только у любителей есть понятие "автоматы держат нормально", профессионалы считают его дурным и ни о чем не говорящим. Понятие, что такое нормально - у любителей и профессионалов совершенно разное.
Скажем автоматы могут не греться и не выбивать, потому что это вообще не автоматы, а закрытые рубильники, и радоваться тут нечему.
2.Нормально - сделать правильно всё, а не кое-что. Про кое-что пусть на форуме Вам расскажут другие, у них ко мне такие же претензии, как и у Вас.
Одиночный свободный электрик
Опыт ремонтов квартир 20лет
Высшее электрическое образование
Бывший инженер-электрик
Пенсионер
64 года
Пишу для владельцев частного жилья
Запасной E–mail для россиян: [email protected]
Дим78
Сообщения: 9
Зарегистрирован: 13 окт 2017, 05:03
Репутация: 3
Контактная информация:

Найдите ошибки если они есть

Сообщение Дим78 » 14 окт 2017, 19:11

elalex писал(а):Источник цитаты 1.Взгляды любителей и профессионалов на жизнь совершенно разные. Скажем, профессионалы знают про массу проблем алюминиевой проводкой, поэтому в квартирах ее запретили.
2.Так же и с безопасностью - любители не знают про статистику несчастных случаев, либо игнорируют ее, не ценя своей жизни и жизни своих родных и близких, а электрики заботятся о ее сохранении в 10 раз больше жильцов.
3.Я усложняю в соответствии со статистикой повреждений электрооборудования от разных причин и статистикой несчастных случаев. Если Вы фаталист и не верите, что Вас может убить током - вполне можете отказаться от моих советов.
4.Электрика - вещь достаточно запутанная и требует определенных усилий, чтобы понять и оценить опасности,и определиться с необходимостью защиты от них. Мои схемы не катастрофически сложные и дорогие.
5.Не сомневаюсь - существующая электрика квартиры работает ужасно, вы живете на пороховой бочке и не знаете об этом.
6.Ваша голова на плечах знает про электрику квартиры в 100 раз меньше, чем моя. И руки голове никак не помогут. Поможет только знание всех проблем и опыт их решения.
7.Да, в электрике квартиры 50 проблем, и я готовлю Вас решать их. Так у всех, и некоторым не нравится сложность электрики, они ждут простых ответов на сложные вопросы.

Сомневаетесь или нет в электрике моей квартиры это Ваши проблемы.Да я непрофесионал но на уровне любителя я разбираюсь нормально. Когда я переехал в квартиру то всю проводку привёл в порядок и со своей задачей она справляется отлично, хотя о проблемах с алиминиевой проводкой я знаю поэтому и буду её менять . Готовить меня решать эти проблемы не надо , это я сам могу сделать.А вот ответить на мои вопросы можете.Если ответы дать на мои вопросы не можете тогда давайте этот диалог закончим.
Аватара пользователя
elalex
Сообщения: 7423
Зарегистрирован: 21 июл 2015, 08:08
Репутация: 591
Откуда: [email protected]
Контактная информация:

Найдите ошибки если они есть

Сообщение elalex » 14 окт 2017, 19:19

Интересное обвинение, что не могу на что-то ответить, но давайте закончим.
Одиночный свободный электрик
Опыт ремонтов квартир 20лет
Высшее электрическое образование
Бывший инженер-электрик
Пенсионер
64 года
Пишу для владельцев частного жилья
Запасной E–mail для россиян: [email protected]
ПАВ
Сообщения: 7647
Зарегистрирован: 13 авг 2015, 19:54
Репутация: 923
Откуда: Одесса
Контактная информация:

Найдите ошибки если они есть

Сообщение ПАВ » 14 окт 2017, 20:07

И правильное- словес вы много извергли, толку, конкретного ответа от вас, как электрика 80-го уровня- минус 80. Тупое нежелание/не понимание ситуации, возможностей человека и упорное толкание ненужных идей, начиная с ...Да, в электрике квартиры 50 проблем...(с) отпугнет любого нормального обывателя. Аффтар, пешите исчо!
В жизни все не так, как на самом деле...
Аватара пользователя
кви-45
Сообщения: 714
Зарегистрирован: 25 окт 2015, 20:31
Репутация: 254
Контактная информация:

Найдите ошибки если они есть

Сообщение кви-45 » 14 окт 2017, 20:11

кви-45 писал(а):Источник цитаты elalex писал(а):Источник цитаты elalex » 8 минут назад
Одним или двумя автоматами (это роли не играет), которые питают только варочную поверхность.
Пустая и не профессиональная отписка. Давайте заканчивать.


elalex - Проработайте ГОСТ Р 50030.2 п. 2.17.2 там четко определено понятие селективности, которое исключает вариант срабатывания двухавтоматов одновременно.
“Полная селективность (2.17.2)
"Полная селективность по сверхтокам, это когда при последовательном соединении двух аппаратов защиты от сверхтоков аппарат со стороны нагрузки осуществляет защиту без срабатывания второго защитного аппарата.”
За электробезопасность необходимо ПЛАТИТЬ,
за ее отсутствие РАСПЛАЧИВАТЬСЯ!
Аватара пользователя
elalex
Сообщения: 7423
Зарегистрирован: 21 июл 2015, 08:08
Репутация: 591
Откуда: [email protected]
Контактная информация:

Найдите ошибки если они есть

Сообщение elalex » 14 окт 2017, 20:28

1.Да, признаюсь, схема с двух сторон кабеля не подходит под это определение полной селективности. Но кому и насколько от этого плохо? По-моему, такое отсутствие полной селективности не приносит никому никаких проблем, разве что пройти лишние 5м.
2.Вот если бы убрать автомат, ближний к потребителю - полная селективность бы была. Опять редкий случай, когда убирание, а не добавка автомата увеличивает степень селективности.
3.Можете вместе с ПАВом поработать с ТС, я отказался. Глядишь, предложите простое решение сложных проблем, он будет признателен.
Одиночный свободный электрик
Опыт ремонтов квартир 20лет
Высшее электрическое образование
Бывший инженер-электрик
Пенсионер
64 года
Пишу для владельцев частного жилья
Запасной E–mail для россиян: [email protected]
Аватара пользователя
кви-45
Сообщения: 714
Зарегистрирован: 25 окт 2015, 20:31
Репутация: 254
Контактная информация:

Найдите ошибки если они есть

Сообщение кви-45 » 14 окт 2017, 20:29

Elalex! Вас уже новички посылают подальше и пишут , чтобы вы свою трепатню заканчивали :negative:
За электробезопасность необходимо ПЛАТИТЬ,
за ее отсутствие РАСПЛАЧИВАТЬСЯ!
Аватара пользователя
elalex
Сообщения: 7423
Зарегистрирован: 21 июл 2015, 08:08
Репутация: 591
Откуда: [email protected]
Контактная информация:

Найдите ошибки если они есть

Сообщение elalex » 14 окт 2017, 20:34

ПАВ, обыватель, которого отпугивают 50 проблем - слабак в психике. Я таких нормальными не считаю, их не более 20-30% от всех. Никакие другие темпераменты проблем не боятся. Могут игнорировать, могут быстро или потихоньку решать.
Одиночный свободный электрик
Опыт ремонтов квартир 20лет
Высшее электрическое образование
Бывший инженер-электрик
Пенсионер
64 года
Пишу для владельцев частного жилья
Запасной E–mail для россиян: [email protected]
Аватара пользователя
elalex
Сообщения: 7423
Зарегистрирован: 21 июл 2015, 08:08
Репутация: 591
Откуда: [email protected]
Контактная информация:

Найдите ошибки если они есть

Сообщение elalex » 14 окт 2017, 20:37

А как же, новички и модераторы будут учить меня жизни и электрике!
Одиночный свободный электрик
Опыт ремонтов квартир 20лет
Высшее электрическое образование
Бывший инженер-электрик
Пенсионер
64 года
Пишу для владельцев частного жилья
Запасной E–mail для россиян: [email protected]
Дим78
Сообщения: 9
Зарегистрирован: 13 окт 2017, 05:03
Репутация: 3
Контактная информация:

Найдите ошибки если они есть

Сообщение Дим78 » 15 окт 2017, 08:42

elalex писал(а):Источник цитаты А как же, новички и модераторы будут учить меня жизни и электрике!

О Великий и Могучий электрик-сан куда ж нам до вас, и как же мы себе позволили писать Вам такое. :wink: :wink: Ну а если по делу то меня не отпугивают проблемы, я решаю их за ранее или по мере поступления.В психике я далеко не слабак. А вот то что у многих претензии к вам это повод задуматься именно вам .Многие люди пишут сюда чтобы получить помощь или совет а вы их очень сильно запутываете.Разжёвывать можно но в меру
Аватара пользователя
ант@нио
Сообщения: 1174
Зарегистрирован: 19 ноя 2015, 19:17
Репутация: 96
Откуда: МО,Королев
Контактная информация:

Найдите ошибки если они есть

Сообщение ант@нио » 15 окт 2017, 11:36

кви-45 писал(а):Источник цитаты Elalex! Вас уже новички посылают подальше и пишут , чтобы вы свою трепатню заканчивали

Так его,так :biggrin:
Не ищи причину, ищи средство.
Аватара пользователя
TOPMO3
Сообщения: 4181
Зарегистрирован: 29 фев 2016, 10:37
Репутация: 626
Откуда: Ижевск
Контактная информация:

Найдите ошибки если они есть

Сообщение TOPMO3 » 17 окт 2017, 18:54

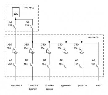
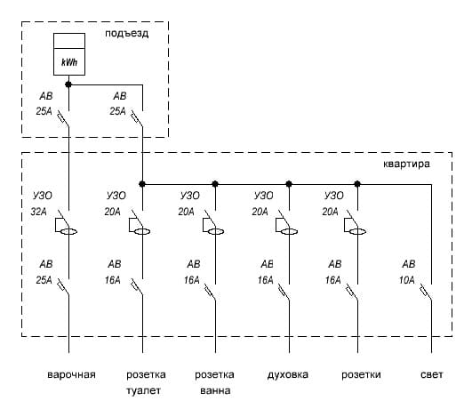
Дим78 писал(а):Источник цитаты ... Составил такую схему...
0.JPG
УЗО будут 30мА.
Смеюсь последний ... тормоз однако!


  • Реклама

Вернуться в «Проектирование внутреннего электроснабжения»

Кто сейчас на конференции

Сейчас этот форум просматривают: нет зарегистрированных пользователей и 17 гостей