Найдите ошибки если они есть

Проектирование внутреннего электроснабжения квартир, домов, коттеджей и т.п. Нормы, типовые проекты, расчеты, делимся своими проектами.
ПАВ
Сообщения: 7647
Зарегистрирован: 13 авг 2015, 19:54
Репутация: 923
Откуда: Одесса
Контактная информация:

Найдите ошибки если они есть

Сообщение ПАВ » 17 окт 2017, 19:19

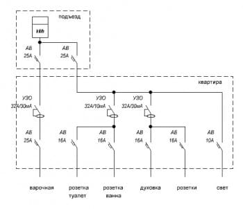
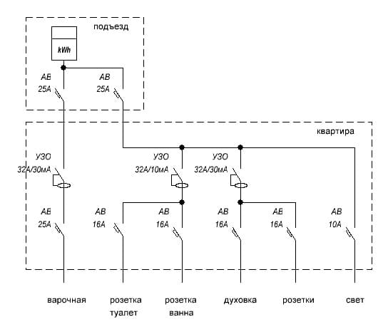
Этих, типовых, вариантов распределения УЗО, АВ и нагрузок- тыща мильенов, нетрудно поискать и подобрать оптимальный. Если денег много- можно и на каждый патрон и розетку свое УЗО+АВ, но смысл какой? Не проще- группы- УЗО и два-три-...АВ ?
В жизни все не так, как на самом деле...
Реклама
Аватара пользователя
TOPMO3
Сообщения: 4181
Зарегистрирован: 29 фев 2016, 10:37
Репутация: 626
Откуда: Ижевск
Контактная информация:

Найдите ошибки если они есть

Сообщение TOPMO3 » 18 окт 2017, 13:47

Дим78 писал(а):Источник цитаты...Можно ли к одному УЗО на 20А подключить допустим водонагреватель и стиралку через 2 автомата как на схеме?
Вложения
0.JPG
Смеюсь последний ... тормоз однако!
Аватара пользователя
elalex
Сообщения: 7423
Зарегистрирован: 21 июл 2015, 08:08
Репутация: 591
Откуда: [email protected]
Контактная информация:

Найдите ошибки если они есть

Сообщение elalex » 18 окт 2017, 14:16

TOPMO3:
1.Вас никогда не било током через люстру?
2.У Вас при КЗ в люстре никогда не перегорали провода внутри ее?
3.У Вас вообще есть опыт монтажа, или горазды только рисовать схемы и смеяться?
Одиночный свободный электрик
Опыт ремонтов квартир 20лет
Высшее электрическое образование
Бывший инженер-электрик
Пенсионер
64 года
Пишу для владельцев частного жилья
Запасной E–mail для россиян: [email protected]
Дим78
Сообщения: 9
Зарегистрирован: 13 окт 2017, 05:03
Репутация: 3
Контактная информация:

Найдите ошибки если они есть

Сообщение Дим78 » 18 окт 2017, 18:48

ПАВ писал(а):Этих, типовых, вариантов распределения УЗО, АВ и нагрузок- тыща мильенов, нетрудно поискать и подобрать оптимальный. Если денег много- можно и на каждый патрон и розетку свое УЗО+АВ, но смысл какой? Не проще- группы- УЗО и два-три-...АВ ?

Да вы правы схему переделаю. А если я вместо двух вводных кабелей каждый по 4мм2 поставлю один на 6мм2, так можно?


  • Реклама

Вернуться в «Проектирование внутреннего электроснабжения»

Кто сейчас на конференции

Сейчас этот форум просматривают: нет зарегистрированных пользователей и 8 гостей