Проблемы с однофазным вводом в дом

Прикрепляем фото и обсуждаем ошибки электромонтажа из своей практики.
Аватара пользователя
Елена К.
Сообщения: 37
Зарегистрирован: 10 май 2017, 16:57
Репутация: 0
Контактная информация:

размер матрицы 95 и матрицы Е 140 одинаковый внутри или нет ?

Сообщение Елена К. » 06 июн 2017, 00:51

скажите матрица Е 140 для опрессовки изолированных гильз такая же внутри как матрица 95 от пресса 300? мерили сегодня внутри размеры ширина и высота штангенциркулем получилось такие же как указаны для Е 140. Но не официальных таблиц не нашла .Есть размеры сечения для матрицы 95 ,а для Е 140 указаны мм высота и ширина . Сложно сравнить матрицы с сечение с матрицами у которых диаметр фото гильзы опрессованой 95 матрицей прилагаю посмотрите нормально опрессовали
гильза 95.jpg
или нет ?
Реклама
Аватара пользователя
elalex
Сообщения: 7423
Зарегистрирован: 21 июл 2015, 08:08
Репутация: 591
Откуда: [email protected]
Контактная информация:

размер матрицы 95 и матрицы Е 140 одинаковый внутри или нет ?

Сообщение elalex » 06 июн 2017, 01:07

1.Ваша компетенция превышает её у наших мастеров.
2.Не хотите перенаправить Ваше любопытство и энергию со второстепенных вопросов соединения проводов на первостепенную проблему общей схемы питания?
Одиночный свободный электрик
Опыт ремонтов квартир 20лет
Высшее электрическое образование
Бывший инженер-электрик
Пенсионер
64 года
Пишу для владельцев частного жилья
Запасной E–mail для россиян: [email protected]
Аватара пользователя
tupos
Сообщения: 1344
Зарегистрирован: 10 авг 2015, 13:36
Репутация: 303
Откуда: Шадринск
Контактная информация:

Проблемы с однофазным вводом в дом

Сообщение tupos » 06 июн 2017, 04:33

Елена К., вам предупреждение, все что связано с вашим вводом в дом пишите в одной теме, не нужно по каждому элементу ввода создавать отдельную тему
ПРАВИЛА: http://forum-electrikov.ru/ucp.php?mode=terms
Аватара пользователя
Елена К.
Сообщения: 37
Зарегистрирован: 10 май 2017, 16:57
Репутация: 0
Контактная информация:

Проблемы с однофазным вводом в дом

Сообщение Елена К. » 06 июн 2017, 08:02

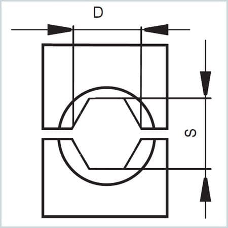
подскажите размеры в мм шестигранной матрицы 95 для пресса прг 300 ? интересует размер от одной грани шестигранник внутри матрицы до другой грани второй половины матрицы расположенной напротив друг друга? подскажите сколько мм внутренних самых дальних углов шестигранной матрицы 95 расположенной внутри шестигранника наворотив друг друга ? размеры как на фото
матрица.JPG
Аватара пользователя
tupos
Сообщения: 1344
Зарегистрирован: 10 авг 2015, 13:36
Репутация: 303
Откуда: Шадринск
Контактная информация:

Проблемы с однофазным вводом в дом

Сообщение tupos » 07 июн 2017, 05:01

Елена К. писал(а):Источник цитаты посмотрите нормально опрессовали или нет ?

В предыдущий раз вас чем опрессовка не устроила?
Елена К. писал(а):Источник цитаты сип нулевой с заземлением соединили прокалывающим зажимом скажите как проверить что есть в месте прокола ?

У большинства зажимов прокалывающих должно срывать шестигранную головку при достижении нормируемого усилия. Какой зажим применен у вас я не знаю
ПРАВИЛА: http://forum-electrikov.ru/ucp.php?mode=terms
Аватара пользователя
Елена К.
Сообщения: 37
Зарегистрирован: 10 май 2017, 16:57
Репутация: 0
Контактная информация:

Проблемы с однофазным вводом в дом

Сообщение Елена К. » 08 июн 2017, 19:39

гильза сплющена была так что изоляция разорвалась и в гильзе трещина . такой результат не указан как гарантирующий безопасное соединение фазных проводников. Купила мультиметр , что измерить что бы проверить наличие соединения в месте прокола заземления и рен
мультиметр .jpg
проводника ?
Аватара пользователя
Елена К.
Сообщения: 37
Зарегистрирован: 10 май 2017, 16:57
Репутация: 0
Контактная информация:

Проблемы с однофазным вводом в дом

Сообщение Елена К. » 08 июн 2017, 19:41

скажите можно закрутить прокалывающий зажим не за срывную головку а за гайку под головкой ?если да то нет гарантии что соединение было по инструкции ,так как использовали ключи от 16 до 10
Аватара пользователя
mastervictor
Сообщения: 4494
Зарегистрирован: 23 июл 2015, 08:50
Репутация: 508
Откуда: Краснодар(почти)
Контактная информация:

Проблемы с однофазным вводом в дом

Сообщение mastervictor » 09 июн 2017, 10:13

Елена К. писал(а):Источник цитаты такой результат не указан как гарантирующий безопасное соединение фазных проводников.

Не указан где?
Безопасное соединение?
Пройдите поверх лопнувшей изоляции изолентой,и все дела!
Елена К. писал(а):Источник цитаты Купила мультиметр ,

У меня скромней!
Елена К. писал(а):Источник цитаты что измерить

Сопротивление.
Елена К. писал(а):Источник цитаты в месте прокола

По обе стороны прокола.
Елена К. писал(а):Источник цитаты скажите можно закрутить прокалывающий зажим не за срывную головку а за гайку под головкой ?

Можно.
Елена К. писал(а):Источник цитаты так как использовали ключи от 16 до 10

Монтажная головка на 13(та что срывается),а демонтажная на 17.
Нет ничего невозможного,необходимо две вещи,время и деньги!(Я :hi: )
Я отношусь к людям так,как они относятся ко мне!(Я :hi: )
ПАВ
Сообщения: 7647
Зарегистрирован: 13 авг 2015, 19:54
Репутация: 923
Откуда: Одесса
Контактная информация:

Проблемы с однофазным вводом в дом

Сообщение ПАВ » 09 июн 2017, 10:29

И что там омметр покажет? Если и нужно проверить качество соединения, то по падению напряжения на переходе при известном токе, тогда и переходное сопротивление нетрудно высчитать.
В жизни все не так, как на самом деле...
Аватара пользователя
mastervictor
Сообщения: 4494
Зарегистрирован: 23 июл 2015, 08:50
Репутация: 508
Откуда: Краснодар(почти)
Контактная информация:

Проблемы с однофазным вводом в дом

Сообщение mastervictor » 09 июн 2017, 10:44

ПАВ писал(а):Источник цитаты И что там омметр покажет?

Наличие цепи!
Нет ничего невозможного,необходимо две вещи,время и деньги!(Я :hi: )
Я отношусь к людям так,как они относятся ко мне!(Я :hi: )
ПАВ
Сообщения: 7647
Зарегистрирован: 13 авг 2015, 19:54
Репутация: 923
Откуда: Одесса
Контактная информация:

Проблемы с однофазным вводом в дом

Сообщение ПАВ » 09 июн 2017, 11:10

А что, и так трудно догадаться? Не было бы ее, скорее всего и света не было бы.
В жизни все не так, как на самом деле...
Аватара пользователя
mastervictor
Сообщения: 4494
Зарегистрирован: 23 июл 2015, 08:50
Репутация: 508
Откуда: Краснодар(почти)
Контактная информация:

Проблемы с однофазным вводом в дом

Сообщение mastervictor » 09 июн 2017, 11:17

ПАВ писал(а):Источник цитаты Не было бы ее, скорее всего и света не было бы.

Елена К. писал(а):Источник цитаты что измерить что бы проверить наличие соединения в месте прокола заземления и рен проводника?

:wink:
Нет ничего невозможного,необходимо две вещи,время и деньги!(Я :hi: )
Я отношусь к людям так,как они относятся ко мне!(Я :hi: )
ПАВ
Сообщения: 7647
Зарегистрирован: 13 авг 2015, 19:54
Репутация: 923
Откуда: Одесса
Контактная информация:

Проблемы с однофазным вводом в дом

Сообщение ПАВ » 09 июн 2017, 11:46

Ах это? Таки да- можно увидеть на м/метре 0,3...0,6(в зависимости от качества) Ом сопротивления проводов щупов и ХХ Ом. Если этого достаточно, сдаемсу !!!
В жизни все не так, как на самом деле...
Аватара пользователя
Елена К.
Сообщения: 37
Зарегистрирован: 10 май 2017, 16:57
Репутация: 0
Контактная информация:

Проблемы с однофазным вводом в дом

Сообщение Елена К. » 10 июн 2017, 11:31

сломался мультиметр после измерения постоянного тока в батарейки в режиме В20 стал показывать -1 и батарейку . меняла крону не помогает. если провода от батарейки потрогать то -1 исчезал . Может контакт от кроны плахой? почему -1 показывает ? предохранитель на 0,5 защищает все режимы кроме низких .Продавец при продаже уронил прибор может что то испортил? я сразу хотела отдать но думала пронесёт. Он просто с 1,5 грохнул его о стол . Здаровый продавец и неуклюжий какой то . Я прибор разобрала выпали лпмели в переключатели режимов не знаю как поставить .в интеренете все платы разные и на мой прибор масса вариантов . У меня атлатник ДТ 9205 А . Если у кого есть такой посмотрите как поставить ламели.
Вложения
img_4277__916.JPG
DSCN6842-2800.jpg
Аватара пользователя
mastervictor
Сообщения: 4494
Зарегистрирован: 23 июл 2015, 08:50
Репутация: 508
Откуда: Краснодар(почти)
Контактная информация:

Проблемы с однофазным вводом в дом

Сообщение mastervictor » 13 июн 2017, 11:30

Елена К., Вы уникальная женщина! :wink:
Нет ничего невозможного,необходимо две вещи,время и деньги!(Я :hi: )
Я отношусь к людям так,как они относятся ко мне!(Я :hi: )


  • Реклама

Вернуться в «Ошибки электромонтажа или "как не надо делать"»

Кто сейчас на конференции

Сейчас этот форум просматривают: нет зарегистрированных пользователей и 11 гостей