Это ещё что. Вот прекрасные инструменты от Тульского Электромеханического Завода. Недавно прочитал, что этот завод переаттестовал производимую арматуру для высоковольтных линий электропередач в ОАО «ФСК ЕЭС» и в ОАО «Россети», представляете? Интересно было узнать, что этот завод производит: они делают и предупредительный маячок для проводов, и системы световой маркировки, и системы энергоснабжения маломощных потребителей, и птицезащитные антиприсадочные устройства и ещё кучу всего, всё не перечислить. Я давно пользуюсь их продукцией и много чего о ней знаю. Откровенно говоря, радует качество и простота использования, наличие инструкции, надёжность и отказоустойчивость. По сравнению с теми монтажными приспособлениями, что я использовал до этого, - просто небо и земля. И это не реклама! Я могу рассказать историю про то, как хорошо повела себя их продукция в деле. Хотел я сварить пельмени в чайнике, вечер, туман, скучно и темно и холодно, а я после работы уставший. Но вдруг выключился свет. Дальше все стандартно: звонок, короткий разговор, мол, Михалыч (это не моё настоящее имя, конечно), отрубили электричество, кто-то раскрутил болты на ЛЭП на перекрёстке у мостовой, видимо, весельчак какой-то решил оставить весь район без электричества. Проблему локализовали и теперь всё идёт как по маслу. Через полчаса я уже на рабочем месте. Всё починили, а чтобы не портилось имущество в будущем, решили поставить ПВУ (Противовандальное защитное устройство). Щас точно не припомню, но по-моему «ЗБ-Х1».

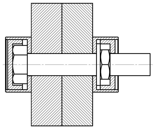
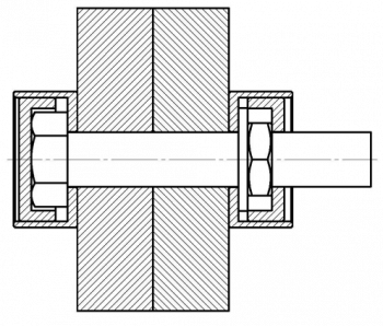
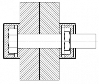
Это такой набор элементов, делают вокруг головки болта и гайки неразъемный контейнер с гладкой цилиндрической поверхностью, и теперь для гаечного ключа головка болта и гайка становятся недоступной.
Такая штука интересная, кто-нибудь, может быть, слышал? Устройство-то довольно простое, но никогда раньше таких не видел. Не знал, что в Туле работяги такие смышлёные. С того дня я стал чаще заглядываться на их сайт
https://temz-tula.ru/prod/, может, подчерпну что-нибудь и для своего производства. А вы какие диковины видели? Делитесь коллеги!
