sibarit писал(а):Источник цитаты Студент?
На лекции по ТОЭ кто за Вас будет ходить?

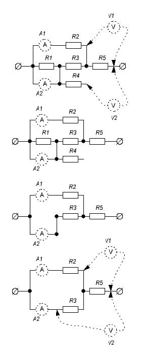
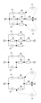
1. ...показания амперметра A1, равно 0 (нуль);Денис Сошников писал(а):Источник цитаты ... через амперметр A2 течёт ток, равный 20 мA, а вольтметр V2 показывает напряжение 6В.
А если считать, что амперметры включены в разрыв провода, то из схемы убираются только линии, относящиеся к вольтметрам ... тогда, после ряда упрощений (замещений) схема принимает очень простой вид и из которой получаем те же значения, кроме показания амперметра А1 ... он тоже будет 20 мА (а не 0)TOPMO3 писал(а):Источник цитаты Задачка с подвохом ...
Сейчас этот форум просматривают: нет зарегистрированных пользователей и 12 гостей