Msk писал(а):Источник цитаты если все норм
elalex писал(а):Источник цитаты 1.Зачем вводной автомат и УЗО 300мА,
elalex писал(а):Источник цитаты да еще и 3-фазные?
elalex писал(а):Источник цитаты Какая система заземления? Будете игнорировать вопросы?
ответили уже давно.Msk писал(а):Источник цитаты Земля TN-S.
elalex писал(а):Источник цитаты 7.Обрыва ноля не боитесь? Реле напряжения не будет?
elalex писал(а):Источник цитаты 2.Шины я не применяю.
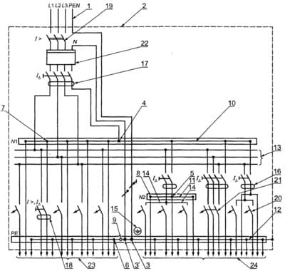
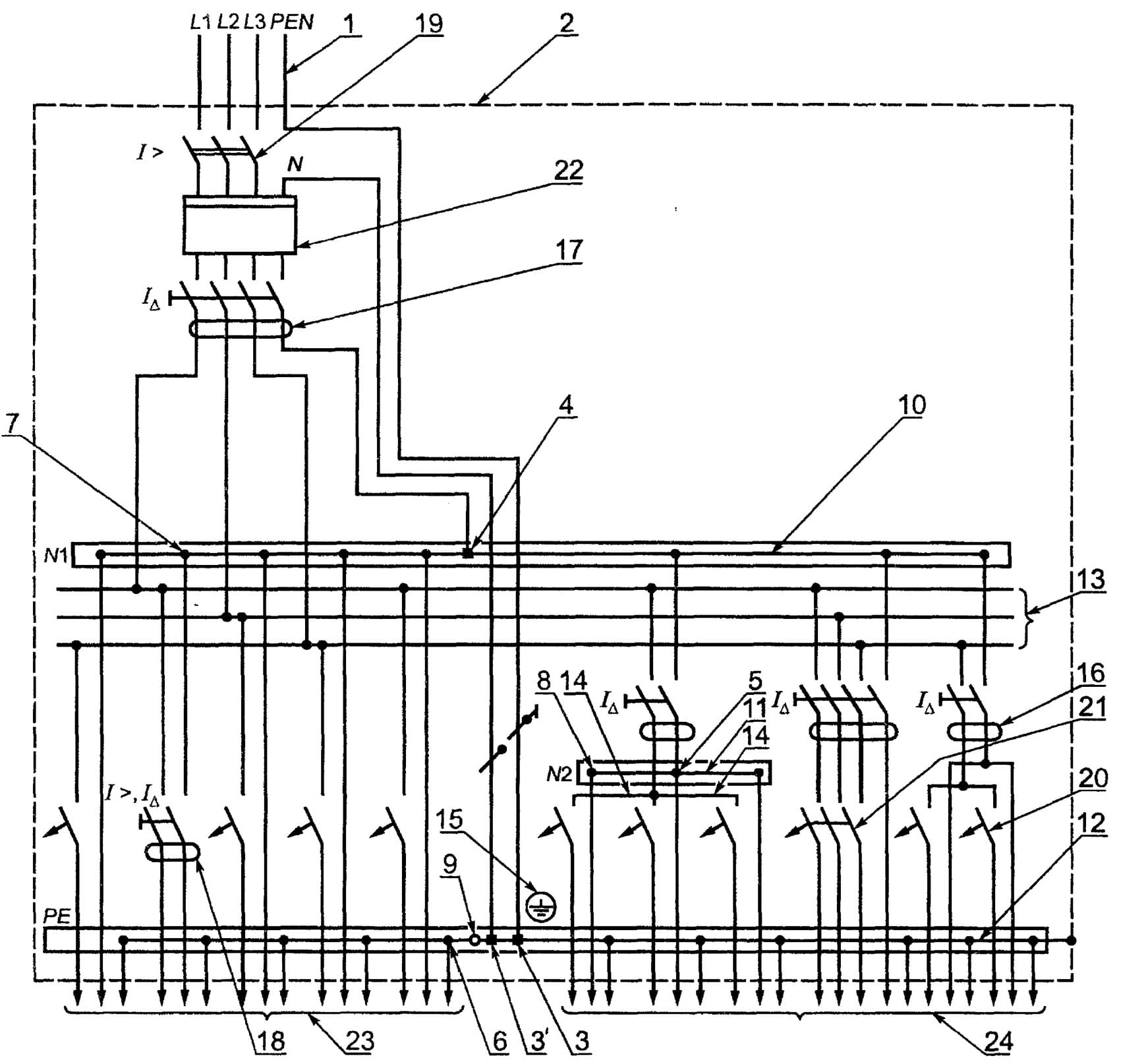
Константин писал(а):Источник цитаты Противопожарное
Константин писал(а):Источник цитаты трехфазная
Константин писал(а):Источник цитаты Реле напряжение устанавливают в ВРУ. Скорей всего там и расположено.
Константин писал(а):Источник цитаты все ноли
Константин писал(а):Источник цитаты тогда производится техническое присоединение РЕ проводников без шин?
Восток писал(а):Источник цитаты ГОСТ Р 51628-2000
elalex писал(а):Источник цитаты А УЗО 30мА - не противопожарное? А какие могут быть пожары в квартирах от утечек?
elalex писал(а):Источник цитаты А в 3-фазную систему можно поставить 1-полюсные автоматы?
elalex писал(а):Источник цитаты Да что Вы говорите! Сами видели, или догадываетесь?
elalex писал(а):Источник цитаты Во рту выходной клеммы УЗО.
elalex писал(а):Источник цитаты В скрутке.
Константин писал(а):Источник цитаты дал в принципе ответы
Константин писал(а):Источник цитаты обеспечивая двухступенчатую селективную защиту своего дома.
Константин писал(а):Источник цитаты ВРУ

TOPMO3 писал(а):Источник цитаты Двухступенчатую дифзащиту, в квартиру (МКД) да еще с системой TN-S ... на шизофрению смахивает.
elalex писал(а):Источник цитатыMsk писал(а):Источник цитаты если все норм
Ничего не норм.
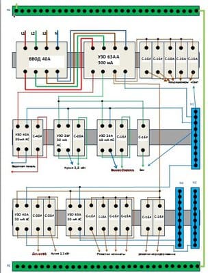
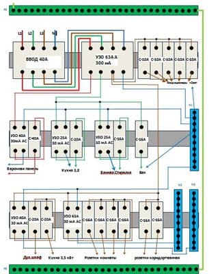
1.Зачем вводной автомат и УЗО 300мА, да еще и 3-фазные? Какая система заземления? Будете игнорировать вопросы?
2.Шины я не применяю.
3.2-3 электромеханических брендовых УЗО типа А максимальной мощности на всю квартиру.
4.Почему есть потребители не через УЗО 30мА?
5.Какие марки автоматов?
6.Какие кабели?
7.Обрыва ноля не боитесь? Реле напряжения не будет?
8.Что на лестничной площадке?
9.Достаточно и 1-линейной схемы питания.
10.Надписи сделайте крупнее, а то некоторые не читаются.
(сделаю)TOPMO3 писал(а):Источник цитаты Двухступенчатую дифзащиту, в квартиру (МКД) да еще с системой TN-S ... на шизофрению смахивает.
TOPMO3 писал(а):Источник цитаты Вы даже не сочли нужным, узнать, что у него в этажном щите стоит окромя счетчика ... поди еще одно УЗО.
elalex писал(а):Источник цитаты У него 3 группа, при ней знать объяснения необходимости пунктов правил необязательно. Обязательно тупо их выполнять.
elalex писал(а):Источник цитаты Я так понимаю, свой дом - это МКД? Если частный дом, кому и зачем она нужна?
elalex писал(а):Источник цитаты Если в МКД есть, в какой точке схемы ставятся и какие у них уставки?
Паш писал(а):Источник цитаты Правильно ли
Паш писал(а):Источник цитаты Ввод бронированным кабелем
Паш писал(а):Источник цитаты дифавтоматы
Паш писал(а):Источник цитаты Правильно ли
Паш писал(а):Источник цитаты Ввод бронированным кабелем
Паш писал(а):Источник цитаты дифавтоматы
elalex писал(а):Источник цитаты Паш писал(а):
Источник цитаты Правильно ли
Различаете "правильно" и "разумно"? Скажем, система TN-C-S, как у Вас - правильная, но неразумная, она смертельно опасна при обрыве ноля.
Вернуться в «Проектирование внутреннего электроснабжения»
Сейчас этот форум просматривают: нет зарегистрированных пользователей и 10 гостей