Полный электромонтаж - руками самоучки

Наглядные примеры в виде фото и видео отчетов по электромонтажу квартир, домов, коттеджей, магазинов, офисов и прочих помещений.
Аватара пользователя
IliaBkmz
Сообщения: 388
Зарегистрирован: 17 окт 2016, 14:03
Репутация: 32
Откуда: Балашиха
Контактная информация:

Полный электромонтаж - руками самоучки

Сообщение IliaBkmz » 24 ноя 2017, 15:49

ПАВ писал(а):Источник цитаты Что, там диаметр отверстия меньше 2,5 мм?

Не измерял отверстие... На нем просто написано: max 4 кв.мм. и продавец (оф дилер фирмы Хагер) - это подчеркнул)
Провода измерял, естественно меньше, но пытаться впихивать невпихуемое - не хочу...
Реклама
Аватара пользователя
mastervictor
Сообщения: 4494
Зарегистрирован: 23 июл 2015, 08:50
Репутация: 508
Откуда: Краснодар(почти)
Контактная информация:

Полный электромонтаж - руками самоучки

Сообщение mastervictor » 27 ноя 2017, 13:58

IliaBkmz писал(а):Источник цитаты На нем просто написано: max 4 кв.мм.

Так и обрезки проводов,планируется на 4 кв мм.
IliaBkmz писал(а):Источник цитаты но пытаться впихивать невпихуемое - не хочу...

Чего тогда не впихнется то?
Нет ничего невозможного,необходимо две вещи,время и деньги!(Я :hi: )
Я отношусь к людям так,как они относятся ко мне!(Я :hi: )
ПАВ
Сообщения: 7647
Зарегистрирован: 13 авг 2015, 19:54
Репутация: 923
Откуда: Одесса
Контактная информация:

Полный электромонтаж - руками самоучки

Сообщение ПАВ » 27 ноя 2017, 14:37

Сдается мне, там или аписька, или очепятка в переводе и там просто 4 мм. Ни разу не видел в таких планках/гребенках винт М3, наверняка- М4 минимум, а если так, то и отверстие под провод не будет менее 4 мм в диаметре, а это уже кое-что, поэтому стоит таки измерить и убедиться.
Вот пример: винт М5, отверстие 5,3мм; винт М4, отверстие 4,5мм
DSCF2925.jpg
В жизни все не так, как на самом деле...
Аватара пользователя
IliaBkmz
Сообщения: 388
Зарегистрирован: 17 окт 2016, 14:03
Репутация: 32
Откуда: Балашиха
Контактная информация:

Полный электромонтаж - руками самоучки

Сообщение IliaBkmz » 28 ноя 2017, 10:37

mastervictor писал(а):Источник цитаты Чего тогда не впихнется то?

Я как понял ПАВ предлагает попробовать засунуть больше 4 кв...
ПАВ писал(а):Источник цитаты Сдается мне, там или аписька, или очепятка в переводе и там просто 4 мм. Ни разу не видел в таких планках/гребенках винт М3

ПАВ я не про гребенки,а вот про те что на дин рейке - без винтовые:
111123456789.JPG
Аватара пользователя
mastervictor
Сообщения: 4494
Зарегистрирован: 23 июл 2015, 08:50
Репутация: 508
Откуда: Краснодар(почти)
Контактная информация:

Полный электромонтаж - руками самоучки

Сообщение mastervictor » 28 ноя 2017, 10:40

IliaBkmz писал(а):Источник цитаты а вот про те что на дин рейке - без винтовые:

На какой ток,рассчитаны эти "ваги"?
Нет ничего невозможного,необходимо две вещи,время и деньги!(Я :hi: )
Я отношусь к людям так,как они относятся ко мне!(Я :hi: )
Аватара пользователя
IliaBkmz
Сообщения: 388
Зарегистрирован: 17 окт 2016, 14:03
Репутация: 32
Откуда: Балашиха
Контактная информация:

Полный электромонтаж - руками самоучки

Сообщение IliaBkmz » 28 ноя 2017, 13:27

mastervictor писал(а):Источник цитаты На какой ток,рассчитаны эти "ваги"?

Нет информации. Есть в описании только допуск по максимальному диаметру - до 4 мм 2
Аватара пользователя
mastervictor
Сообщения: 4494
Зарегистрирован: 23 июл 2015, 08:50
Репутация: 508
Откуда: Краснодар(почти)
Контактная информация:

Полный электромонтаж - руками самоучки

Сообщение mastervictor » 28 ноя 2017, 13:29

IliaBkmz писал(а):Источник цитаты Нет информации.

Ну принцип действия как у "вагов"?
Если да,то в топку их!
Нет ничего невозможного,необходимо две вещи,время и деньги!(Я :hi: )
Я отношусь к людям так,как они относятся ко мне!(Я :hi: )
ПАВ
Сообщения: 7647
Зарегистрирован: 13 авг 2015, 19:54
Репутация: 923
Откуда: Одесса
Контактная информация:

Полный электромонтаж - руками самоучки

Сообщение ПАВ » 28 ноя 2017, 13:34

Если честно- недоглядел картинку. Для таких мест брал бы все же винтовые, примерно, как на моей картинке. - и места больше, и разобрать в любой момент не сложно.
В жизни все не так, как на самом деле...
Аватара пользователя
IliaBkmz
Сообщения: 388
Зарегистрирован: 17 окт 2016, 14:03
Репутация: 32
Откуда: Балашиха
Контактная информация:

Полный электромонтаж - руками самоучки

Сообщение IliaBkmz » 28 ноя 2017, 13:40

mastervictor писал(а):Источник цитаты Ну принцип действия как у "вагов"?

Почти -отверткой нужно зажим отжимать:
2534.750x0.jpg


mastervictor писал(а):Источник цитаты Если да,то в топку их!

Слабые? По току нет данных не у одного оф. представителя. Запрос личный отправлю...
Аватара пользователя
mastervictor
Сообщения: 4494
Зарегистрирован: 23 июл 2015, 08:50
Репутация: 508
Откуда: Краснодар(почти)
Контактная информация:

Полный электромонтаж - руками самоучки

Сообщение mastervictor » 28 ноя 2017, 15:27

IliaBkmz писал(а):Источник цитаты Слабые?

Не знаю.
IliaBkmz писал(а):Источник цитаты По току нет данных не у одного оф. представителя.

Плохо.
Даже если дадут сертификат,что ЭТО выдержит 60А,я бы не поставил!
То что рукой/шуриком затянул,тому верю!А как там прижала пружинка,и поставил ли ее туда слепой,не видно!
Нет ничего невозможного,необходимо две вещи,время и деньги!(Я :hi: )
Я отношусь к людям так,как они относятся ко мне!(Я :hi: )
Аватара пользователя
IliaBkmz
Сообщения: 388
Зарегистрирован: 17 окт 2016, 14:03
Репутация: 32
Откуда: Балашиха
Контактная информация:

Полный электромонтаж - руками самоучки

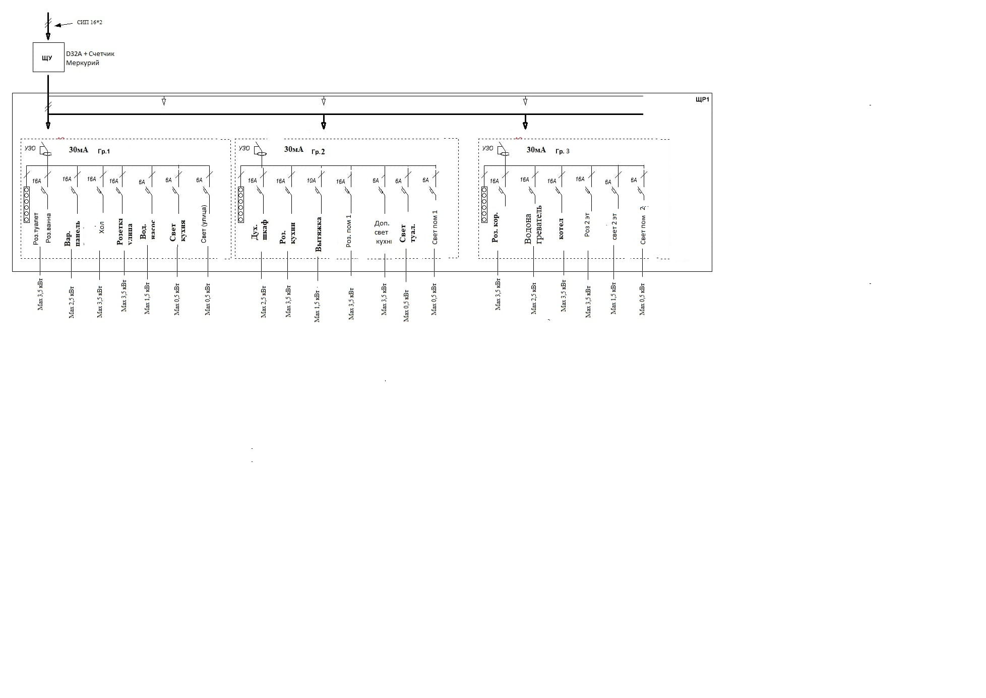
Сообщение IliaBkmz » 18 дек 2017, 10:47

Всем привет:)

Пересмотрел кучу фоток, но так и не смог понять - есть ли какое - то правило по расположению автоматов в щитке? На своей схеме - я расположил от большего к меньшему - на каждой группе после УЗО:
sxema dec (2).jpg


Но в Интернете есть и наоборот и в перемешку. Нет единого правила или требования?
ПАВ
Сообщения: 7647
Зарегистрирован: 13 авг 2015, 19:54
Репутация: 923
Откуда: Одесса
Контактная информация:

Полный электромонтаж - руками самоучки

Сообщение ПАВ » 18 дек 2017, 13:16

А какое тут правило? Главное- привязка АВ к своему УЗО и информативность. Примерно так и у меня- верхний ряд- три УЗО, там же- резервные АВ, под ними- 6 + 6 АВ по нагрузкам- розетки и освещение.
В жизни все не так, как на самом деле...
Аватара пользователя
elalex
Сообщения: 7423
Зарегистрирован: 21 июл 2015, 08:08
Репутация: 591
Откуда: [email protected]
Контактная информация:

Полный электромонтаж - руками самоучки

Сообщение elalex » 18 дек 2017, 13:53

IliaBkmz:
1.Автоматы в щитке имеет смысл располагать аналогично расположению помещений в натуре.
2.Не помню Вашу ситуацию в деталях, но вопросы к схеме:
- вводной автомат D32, насколько понял, на ток КЗ не проверяли?
- ни УЗИП, ни реле напряжения не будет?
- какие защ.характеристики других автоматов?
- какие марки и сечения кабелей?
- линии на отдельные розетки, аппараты, освещение отдельных помещений, и клеммники - ни к чему
- что за варочная панель 2,5кВт? В доме будет жить 1человек?
- на вытяжку имеет смысл ставить автомат минимального номинала 1-2А в отдельном боксе на шкафике, и включать его в розетку кухни под потолком.
3.Впечатление, что Ваше долгое пребывание на форуме в значительной степени было бесполезным.
Одиночный свободный электрик
Опыт ремонтов квартир 20лет
Высшее электрическое образование
Бывший инженер-электрик
Пенсионер
64 года
Пишу для владельцев частного жилья
Запасной E–mail для россиян: [email protected]
Аватара пользователя
кви-45
Сообщения: 714
Зарегистрирован: 25 окт 2015, 20:31
Репутация: 254
Контактная информация:

Полный электромонтаж - руками самоучки

Сообщение кви-45 » 19 дек 2017, 11:36

[quote="IliaBkmz"]Источник цитаты Пересмотрел кучу фоток, но так и не смог понять - есть ли какое - то правило по расположению автоматов в щитке? [/quote

Обязательно надо при установке автоматов учитывать насколько он нагружен по току. Автоматы с полной токовой нагрузкой нельзя рядом ставить , они будут друг друга нагревать. Между ними надо устанавливать автоматы с меньшей степенью нагрузки.
Потом в ЩУ, если автомат установлен до счетчика , то я бы установил еще после счетчика.
Конечно нужно реле напряжения, если напряжение нестабильно на вводе.
За электробезопасность необходимо ПЛАТИТЬ,
за ее отсутствие РАСПЛАЧИВАТЬСЯ!
Аватара пользователя
mastervictor
Сообщения: 4494
Зарегистрирован: 23 июл 2015, 08:50
Репутация: 508
Откуда: Краснодар(почти)
Контактная информация:

Полный электромонтаж - руками самоучки

Сообщение mastervictor » 19 дек 2017, 11:45

Кто то,где то на форуме,подбивал в кучу "правила" сборки щита,с наскока не найду.
Нет ничего невозможного,необходимо две вещи,время и деньги!(Я :hi: )
Я отношусь к людям так,как они относятся ко мне!(Я :hi: )
Аватара пользователя
TOPMO3
Сообщения: 4181
Зарегистрирован: 29 фев 2016, 10:37
Репутация: 626
Откуда: Ижевск
Контактная информация:

Полный электромонтаж - руками самоучки

Сообщение TOPMO3 » 19 дек 2017, 12:32

кви-45 писал(а):Источник цитатыПотом в ЩУ, если автомат установлен до счетчика , то я бы установил еще после счетчика.
Если позволите ... чуть подправлю и дополню, на основе личного мнения ...
1. До счетчика ... автомат устанавливается хоть и по "хотелке" СО, но и к выгоде потребителя (чтобы не устанавливать дополнительно ограничитель мощности) ... а так, допускается и простой выключатель нагрузки.
2. После счетчика ... установка на отходящих линиях обязательна (ПУЭ п.7.1.24.).
Смеюсь последний ... тормоз однако!
Аватара пользователя
IliaBkmz
Сообщения: 388
Зарегистрирован: 17 окт 2016, 14:03
Репутация: 32
Откуда: Балашиха
Контактная информация:

Полный электромонтаж - руками самоучки

Сообщение IliaBkmz » 19 дек 2017, 14:04

ПАВ, Спасибо
elalex,
elalex писал(а):Источник цитаты 1.Автоматы в щитке имеет смысл располагать аналогично расположению помещений в натуре.

Это не реально, особенно если учитывать ваш другой совет по раскидке света и розеток в одном помещении по разным УЗО. Что то вы с советами противоречите сами себе...
elalex писал(а):Источник цитаты Не помню Вашу ситуацию в деталях, но вопросы к схеме:

Не ожидал от Вас... Ну что же начнем сначала...
elalex писал(а):Источник цитаты - вводной автомат D32, насколько понял, на ток КЗ не проверяли?

Вводной щиток - я пока не трогаю, там остается автомат D32 и счетчик... После измерений тока КЗ вашим методом - чайником, вы мне сами посоветовали второй вводной поставить В32 - я его поставил, но каюсь, на схему он не попал - моя ошибка.
ни УЗИП, ни реле напряжения не будет?

Вы меня спрашиваете? Это я тут за советом пришел и за год на форуме первый раз вы мне это предложили, а точнее спросили...
- какие защ.характеристики других автоматов?
По договоренности ранее - я собираю линии, измеряю ток КЗ каждой,а потом советуюсь здесь на форуме. Пока автоматы - что бы собрать щиток и измерить ток КЗ - разные короче.
- какие марки и сечения кабелей?

Провода ПВ1 Свет 1,5, розетки 2,5, плита 4
линии на отдельные розетки, аппараты, освещение отдельных помещений, и клеммники - ни к чему

Так удобнее
- что за варочная панель 2,5кВт? В доме будет жить 1человек?

Двух конфорочная. При наличии современных средств больше и не нужно, тем более нагрузки обсуждал как раз с вами и по вашему совету их снизил.
- на вытяжку имеет смысл ставить автомат минимального номинала 1-2А в отдельном боксе на шкафике, и включать его в розетку кухни под потолком.
Чем это лучше?
Впечатление, что Ваше долгое пребывание на форуме в значительной степени было бесполезным.

Вы даже не помните, что мы с вами сделали, о каких результатах Вы можете судить и судите?
Обязательно надо при установке автоматов учитывать насколько он нагружен по току. Автоматы с полной токовой нагрузкой нельзя рядом ставить , они будут друг друга нагревать. Между ними надо устанавливать автоматы с меньшей степенью нагрузки.
Потом в ЩУ, если автомат установлен до счетчика , то я бы установил еще после счетчика.
Конечно нужно реле напряжения, если напряжение нестабильно на вводе.

Ок. Учту, ни где такой инфы не встречал. Автомат есть - на схему указать забыл - каюсь...
Аватара пользователя
кви-45
Сообщения: 714
Зарегистрирован: 25 окт 2015, 20:31
Репутация: 254
Контактная информация:

Полный электромонтаж - руками самоучки

Сообщение кви-45 » 19 дек 2017, 14:27

TOPMO3 писал(а):Источник цитаты Если позволите ... чуть подправлю и дополню, на основе личного мнения

С дополнением согласен. Вот еще, что накопал.

7.1.64
Для безопасной замены счетчика, непосредственно включаемого в сеть, перед каждым счетчиком должен предусматриваться коммутационный аппарат для снятия напряжения со всех фаз, присоединенных к счетчику.
Отключающие аппараты для снятия напряжения с расчетных счетчиков, расположенных в квартирах, должны размещаться за пределами квартиры.
7.1.65
После счетчика, включенного непосредственно в сеть, должен быть установлен аппарат защиты. Если после счетчика отходит несколько линий, снабженных аппаратами защиты, установка общего аппарата защиты не требуется

IliaBkmz, Я думаю еще надо разобраться с нулевыми шинами N, вводной и для каждой группы. (я еще установил бы отдельную шину N для присоединения проводников зануления корпусов стационарно установленного оборудования, но это мое мнение и ни с кем спорить не буду)
-N проводники присоединяемые на свою групповую нулевую шину необходимо обязательно промаркировать, а то у вас их получается штук по 7 и при необходимости определения неисправности после срабатывания группового УЗО будет трудно определить к какой линии этот N проводник относится.
За электробезопасность необходимо ПЛАТИТЬ,
за ее отсутствие РАСПЛАЧИВАТЬСЯ!
Аватара пользователя
elalex
Сообщения: 7423
Зарегистрирован: 21 июл 2015, 08:08
Репутация: 591
Откуда: [email protected]
Контактная информация:

Полный электромонтаж - руками самоучки

Сообщение elalex » 19 дек 2017, 15:07

IliaBkmz писал(а):Источник цитаты ПАВ, Спасибо
elalex,
elalex писал(а):Источник цитаты 1.Автоматы в щитке имеет смысл располагать аналогично расположению помещений в натуре.

Это не реально, особенно если учитывать ваш другой совет по раскидке света и розеток в одном помещении по разным УЗО. Что то вы с советами противоречите сами себе...
--------------------
1.Располагать автоматы полностью целесообразно - не удается никогда. А вот частично - удается всегда.
2.Располагать аналогично расположению помещений в натуре - нужно понимать так: помещение, находящееся правее, должно иметь и автомат правее на рейке.
3.Создам тему про делению нагрузок (включая половинки люстр) по УЗО.

elalex писал(а):Источник цитаты Не помню Вашу ситуацию в деталях, но вопросы к схеме:

Не ожидал от Вас... Ну что же начнем сначала...
------------------
Ожидали, что я буду помнить все ситуации на форуме в деталях, за 2 года?

elalex писал(а):Источник цитаты - вводной автомат D32, насколько понял, на ток КЗ не проверяли?

Вводной щиток - я пока не трогаю, там остается автомат D32 и счетчик... После измерений тока КЗ вашим методом - чайником, вы мне сами посоветовали второй вводной поставить В32 - я его поставил, но каюсь, на схему он не попал - моя ошибка.
---------------
Даже маленькая ошибка вызывает вопрос.

ни УЗИП, ни реле напряжения не будет?

Вы меня спрашиваете? Это я тут за советом пришел и за год на форуме первый раз вы мне это предложили, а точнее спросили...
----------------
Как говорится, Вам нужно особое предложение? Думаете, я предложу Вам что-то другое, чем всем?

- какие защ.характеристики других автоматов?
По договоренности ранее - я собираю линии, измеряю ток КЗ каждой,а потом советуюсь здесь на форуме. Пока автоматы - что бы собрать щиток и измерить ток КЗ - разные короче.
--------------
1.Если схема и автоматы временные (для ремонтных нужд) - нечего и показывать их. Показывайте только постоянные, если знаете.
2.Сначала измеряются линии, потом ставятся автоматы, а не наоборот. Если действовать осторожно - для измерения входящие и выходящие в распредщиток кабели можно и скрутить.

- какие марки и сечения кабелей?

Провода ПВ1 Свет 1,5, розетки 2,5, плита 4
--------------
Это всё должно быть на схеме, а не отдельными словами.

линии на отдельные розетки, аппараты, освещение отдельных помещений, и клеммники - ни к чему

Так удобнее
------------------
Не вижу никакого удобства в бросании денег на ветер. Бросьте лучше на нормальную схему.

- что за варочная панель 2,5кВт? В доме будет жить 1человек?

Двух конфорочная. При наличии современных средств больше и не нужно, тем более нагрузки обсуждал как раз с вами и по вашему совету их снизил.
------------
Туманно помню про панель.
Только однажды видел в полноценной (4 человека) семье 2 конфорки (при 2 мультиварках).

- на вытяжку имеет смысл ставить автомат минимального номинала 1-2А в отдельном боксе на шкафике, и включать его в розетку кухни под потолком.
Чем это лучше?
-------------
Когда вытяжка взорвется при КЗ - тогда узнаете пользу малого автомата.

Впечатление, что Ваше долгое пребывание на форуме в значительной степени было бесполезным.

Вы даже не помните, что мы с вами сделали, о каких результатах Вы можете судить и судите?
-----------------
Рассчитывал, что усвоите больше моих советов, тогда было бы меньше моих новых вопросов.

Обязательно надо при установке автоматов учитывать насколько он нагружен по току. Автоматы с полной токовой нагрузкой нельзя рядом ставить , они будут друг друга нагревать. Между ними надо устанавливать автоматы с меньшей степенью нагрузки.
Потом в ЩУ, если автомат установлен до счетчика , то я бы установил еще после счетчика.
Конечно нужно реле напряжения, если напряжение нестабильно на вводе.

Ок. Учту, ни где такой инфы не встречал. Автомат есть - на схему указать забыл - каюсь...

----------------
Непонятно - как это можно так много забывать, если обсуждение длится год?
Одиночный свободный электрик
Опыт ремонтов квартир 20лет
Высшее электрическое образование
Бывший инженер-электрик
Пенсионер
64 года
Пишу для владельцев частного жилья
Запасной E–mail для россиян: [email protected]
Аватара пользователя
mastervictor
Сообщения: 4494
Зарегистрирован: 23 июл 2015, 08:50
Репутация: 508
Откуда: Краснодар(почти)
Контактная информация:

Полный электромонтаж - руками самоучки

Сообщение mastervictor » 19 дек 2017, 15:21

Потому что делать надо,а не гонять воду в ступе год,да еще и вилами!
Нет ничего невозможного,необходимо две вещи,время и деньги!(Я :hi: )
Я отношусь к людям так,как они относятся ко мне!(Я :hi: )


  • Реклама

Вернуться в «Фото и видео отчёты по электромонтажу»

Кто сейчас на конференции

Сейчас этот форум просматривают: нет зарегистрированных пользователей и 12 гостей