ЩР в каркасном двухэтажном доме.Покритикуйте схему.

Проектирование внутреннего электроснабжения квартир, домов, коттеджей и т.п. Нормы, типовые проекты, расчеты, делимся своими проектами.
Аватара пользователя
Леопольд
Сообщения: 2199
Зарегистрирован: 05 янв 2016, 14:35
Репутация: 74
Контактная информация:

ЩР в каркасном двухэтажном доме.Покритикуйте схему.

Сообщение Леопольд » 28 дек 2017, 08:41

Garpiy 717 писал(а):у меня газ и ничего мощнее хорошего утюга и посудомойки в доме не будет

А электромобиль? (Никогда не говори никогда).
Кандидат в младшие помощники начинающего ученика электрика
Реклама
Аватара пользователя
Garpiy 717
Сообщения: 47
Зарегистрирован: 11 дек 2017, 15:08
Репутация: 0

ЩР в каркасном двухэтажном доме.Покритикуйте схему.

Сообщение Garpiy 717 » 28 дек 2017, 23:24

Леопольд писал(а):Источник цитаты
Garpiy 717 писал(а):у меня газ и ничего мощнее хорошего утюга и посудомойки в доме не будет

А электромобиль? (Никогда не говори никогда).

тогда уж электровертолет приобрету
LVA0792
Сообщения: 5
Зарегистрирован: 17 ноя 2018, 14:28
Репутация: 0
Контактная информация:

ЩР в каркасном двухэтажном доме.Покритикуйте схему.

Сообщение LVA0792 » 17 ноя 2018, 14:56

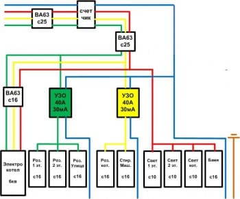
Добрый день. Есть ли замечания по схеме, заранее благодарен. Делаю сам первый раз в частном доме, схему делал тоже сам. Выделенная мощность 15кв 380в. Ввод в дом СИП 16мм, после до счётчика и до распред щита 10мм NYM, в щите перемычки проводом ПВ1 6мм. Далее уже по дому разводка пошла из NYM провода: Котел 4мм, розетки 2.5, свет 1.5
Вложения
щит.jpg
Последний раз редактировалось LVA0792 17 ноя 2018, 20:48, всего редактировалось 1 раз.
Аватара пользователя
Rumato
Сообщения: 739
Зарегистрирован: 23 июл 2015, 22:15
Репутация: 107
Откуда: Щелково МО
Контактная информация:

ЩР в каркасном двухэтажном доме.Покритикуйте схему.

Сообщение Rumato » 17 ноя 2018, 15:58

LVA0792,
Не хватает 3 УЗО на свет и баню.
https://instagram.com/dmytriy_kuskov
Аватара пользователя
elalex
Сообщения: 7423
Зарегистрирован: 21 июл 2015, 08:08
Репутация: 591
Откуда: [email protected]
Контактная информация:

ЩР в каркасном двухэтажном доме.Покритикуйте схему.

Сообщение elalex » 17 ноя 2018, 16:16

Интернет плохой. До полуночи и позже дам штук 20 замечаний.
Одиночный свободный электрик
Опыт ремонтов квартир 20лет
Высшее электрическое образование
Бывший инженер-электрик
Пенсионер
64 года
Пишу для владельцев частного жилья
Запасной E–mail для россиян: [email protected]
Аватара пользователя
TOPMO3
Сообщения: 4181
Зарегистрирован: 29 фев 2016, 10:37
Репутация: 626
Откуда: Ижевск
Контактная информация:

ЩР в каркасном двухэтажном доме.Покритикуйте схему.

Сообщение TOPMO3 » 17 ноя 2018, 16:43

LVA0792 писал(а):Источник цитаты Есть ли замечания по схеме,
Здравствуйте ... по схеме нет ... почти, не понятно что за котел, не требующий "нуля".
LVA0792 писал(а):Источник цитаты Ввод в дом СИП 16мм, ... Далее уже в дом пошло из NYM ...
Не понятно ... Вы дважды вводите в дом ... сначала СИП_ом потом NYM_ом. У Вас один общий ящик или отдельно ЩУ и отдельно РЩ?
Если есть разделение ... ПУЭ требует "7.1.24. ВУ, ВРУ, ГРЩ должны иметь аппараты защиты на всех вводах питающих линий и на всех отходящих линиях.". Так же, Вы ничего не написали про предполагаемую систему заземления.
Смеюсь последний ... тормоз однако!
LVA0792
Сообщения: 5
Зарегистрирован: 17 ноя 2018, 14:28
Репутация: 0
Контактная информация:

ЩР в каркасном двухэтажном доме.Покритикуйте схему.

Сообщение LVA0792 » 17 ноя 2018, 20:42

Котел 5.1 кв , ноль на котел забыл нарисовать,, от столба до дома идёт сип, потом в него врезаюсь NYM 10мм и тяну до щитка со счетчиком который на улице стоит, а от него уже в дом завожу в распредщит . Заземление буду делать из прутков 20мм диаметром и 2 м длинной ввиде треугольника на глубину 30-40 см. УЗО для бани отдельно будет стоять в распред коробке в самой бане. А на свет ставить УЗО не буду, там утекать особо некуда и на освещении проводка будет без заземления (2*1.5). Дом деревянный
Последний раз редактировалось LVA0792 17 ноя 2018, 20:58, всего редактировалось 1 раз.
LVA0792
Сообщения: 5
Зарегистрирован: 17 ноя 2018, 14:28
Репутация: 0
Контактная информация:

ЩР в каркасном двухэтажном доме.Покритикуйте схему.

Сообщение LVA0792 » 17 ноя 2018, 20:51

В сам щиток нельзя же вроде как сипом заводить
Аватара пользователя
Rumato
Сообщения: 739
Зарегистрирован: 23 июл 2015, 22:15
Репутация: 107
Откуда: Щелково МО
Контактная информация:

ЩР в каркасном двухэтажном доме.Покритикуйте схему.

Сообщение Rumato » 17 ноя 2018, 21:06

LVA0792 писал(а):Источник цитаты А на свет ставить УЗО не буду, там утекать особо некуда и на освещении проводка будет без заземления (2*1.5). Дом деревянный


Большая часть смертельных случаев в быту происходит при замене лампочек.
NYM нельзя использовать на улице, у него изоляция разрушается.
https://instagram.com/dmytriy_kuskov
LVA0792
Сообщения: 5
Зарегистрирован: 17 ноя 2018, 14:28
Репутация: 0
Контактная информация:

ЩР в каркасном двухэтажном доме.Покритикуйте схему.

Сообщение LVA0792 » 17 ноя 2018, 21:39

ВВГнг тоже нельзя на улице, каким же тогда заводить?. Может ВВГнг или NYM в металлизированную гофру засунуть?
Аватара пользователя
Rumato
Сообщения: 739
Зарегистрирован: 23 июл 2015, 22:15
Репутация: 107
Откуда: Щелково МО
Контактная информация:

ЩР в каркасном двухэтажном доме.Покритикуйте схему.

Сообщение Rumato » 17 ноя 2018, 21:44

LVA0792,
Кто сказал что ВВГ нельзя на улице?
https://instagram.com/dmytriy_kuskov
LVA0792
Сообщения: 5
Зарегистрирован: 17 ноя 2018, 14:28
Репутация: 0
Контактная информация:

ЩР в каркасном двухэтажном доме.Покритикуйте схему.

Сообщение LVA0792 » 17 ноя 2018, 22:17

Rumato, у ВВГнг изоляция разве устойчива к ультрафиолету? Значит можно от СИПа до счётчика по фасаду дома вести открытым методом кабелем ВВГнг? СИП будет сечением 16мм , значит и после прокалывающий колодки тоже должен идти 16мм до ящика с счётчиком? А после него до распред бокса можно уже и 10мм
Аватара пользователя
Rumato
Сообщения: 739
Зарегистрирован: 23 июл 2015, 22:15
Репутация: 107
Откуда: Щелково МО
Контактная информация:

ЩР в каркасном двухэтажном доме.Покритикуйте схему.

Сообщение Rumato » 17 ноя 2018, 23:37

Конечно устойчива.
Про остальное не понял. Я привык к схемам.
https://instagram.com/dmytriy_kuskov
Аватара пользователя
elalex
Сообщения: 7423
Зарегистрирован: 21 июл 2015, 08:08
Репутация: 591
Откуда: [email protected]
Контактная информация:

ЩР в каркасном двухэтажном доме.Покритикуйте схему.

Сообщение elalex » 18 ноя 2018, 00:14

1.Принципиальной схемы мало. Нужны планы участка и дома, мощности потребителей.
2.Не должно быть никаких 3-полюсных аппаратов.
3.В вводном щитке на столбе на границе участка три 1-полюсных вводных автомата повышенной отключающей способности 25-40кА. СИП в них - только через алюминиево-медные или медные луженые наконечники.
4.К дому никаких ВЛ ни с какой стороны. К дому от вводного щитка подземная кабельная линия проводами ПВ-1 2,5мм² в пластиковой трубе.
5.В вводном щитке комплект УЗИПов 1класса, если получится - лучше до счётчика.
6.В доме - распределительный щит.
Никаких вводных автоматов. На входе - комплект УЗИПов 2 класса, в каждую фазу - реле напряжения с обвязкой, электромеханическое УЗО типа А 30мА, групповые автоматы с защитной характеристикой В из расчёта: на мощные розеточные группы сечением 2,5мм² - В20, маломощные сечением 1,5мм² - В13, линии освещения контрольными кабелями сечением 1мм² - В6.
Никаких автоматов С в доме быть не должно.
7.Не должно быть линий без заземления и не защищенных УЗО.
8.Про деление линий по фазам нужно поговорить.
9.Про выбор автоматов (включая вводной) нужно поговорить.
10.Про систему заземления нужно поговорить.
11.Никаких отдельных линий на отдельные маломощные аппараты быть не должно.
12.Научитесь правильно писать сокращения единиц электрических величин.
13.Никаких сечений больше 2,5мм² не требуется.
14.Проводка к бане - тоже подземной кабельной линией - проводом ПВ-1 2,5мм², заземление бани - по месту.
Сначала сделайте нормальную электрику со всеми защитами, потом бросайте деньги на баню.
15.Баня - дурость. Не стоит превращать процесс избавления от грязи в спектакль. Спектакли можно ставить и в доме.
Высокая температура препятствует выработке сперматозоидов.
Мужские компании способствуют распространению гомосексуализма.
Последний раз редактировалось elalex 19 ноя 2018, 00:07, всего редактировалось 5 раз.
Одиночный свободный электрик
Опыт ремонтов квартир 20лет
Высшее электрическое образование
Бывший инженер-электрик
Пенсионер
64 года
Пишу для владельцев частного жилья
Запасной E–mail для россиян: [email protected]
Аватара пользователя
TOPMO3
Сообщения: 4181
Зарегистрирован: 29 фев 2016, 10:37
Репутация: 626
Откуда: Ижевск
Контактная информация:

ЩР в каркасном двухэтажном доме.Покритикуйте схему.

Сообщение TOPMO3 » 18 ноя 2018, 08:29

elalex, Где еще пять замечаний? Зачем было обещать ...
elalex писал(а):Источник цитаты...позже дам штук 20 замечаний.
.
Смеюсь последний ... тормоз однако!
ПАВ
Сообщения: 7647
Зарегистрирован: 13 авг 2015, 19:54
Репутация: 923
Откуда: Одесса
Контактная информация:

ЩР в каркасном двухэтажном доме.Покритикуйте схему.

Сообщение ПАВ » 18 ноя 2018, 10:06

TOPMO3 писал(а):Источник цитаты elalex, Где еще пять замечаний? Зачем было обещать ...
elalex писал(а):Источник цитаты...позже дам штук 20 замечаний.
.


Флудить так флудить- есть шанс переплюнуть классику:
... Секpетно Командиpу "СС-4138"
Лейтенанту Конецкому В.В.
Капитан-лейтенанта
Дудаpкина-Кpылова H.Д.
РАПОРТ
Hастоящим доношу до Вашего сведения по пожаpной лопате N 5. Пpи обследовании пожаpной лопаты N 5 мною установлены нижеследующие отклонения от пpиказа Главнокомандующего ВМС СССР:
1. Чеpенок лопаты коpоче стандаpтного.
2. Hасажен плохо, качается.
3. Hа конце чеpенка нет бульбы.
4. Тpекеp лопаты забит тавотом.
5. Щеки лопаты pжавые, не засуpичены.
6. Лопата не совкового типа.
7. Чеpенок лопаты не входит в деpжатели на пожаpной доске.
8. Лопата на пожаpном стенде вследствие этого не закpеплена, а деpжится чеpт как.
9. Лопата не окpашена в кpасный цвет.
10. Hа лопате нет биpки о последней пpовеpке.
11. Hа лопате отсутствует инвентаpный номеp.
12. Лопата не учтена в пpиходо-pасходной книге.
13. Лопата не включена в опись пожаpной доски.
14. Лопата висит не на штатном месте. Далеко от места будущего пожаpа.
15. Пpи опpобовании - лопата сломалась.
16. Сломанная лопата не была внесена в акт списания.
17. Лопата не исключена из описи пожаpной доски.
18. Hет администpативного заключения о пpичине поломки лопаты.
19. Hет пpиказа о наказании виновника поломки лопаты.
20. Лопата и до поломки пpевышала по весу ноpматив на 11 кг 250 г.
21. Лопата не была закpеплена за конкpетным матpосом боевого пожаpного pасчета.
22. В пpоцессе эксплуатации лопата неоднокpатно использовалась не по пpямому (пожаpному) назначению.
Дознанием установлено: в зимних условиях ею чистил снег на палубе боцман, стаpшина 1 статьи Чувилин В.Д. Тогда же ею были нанесены побои боцману, стаpшине 1 статьи Чувилину В.Д. А 08 маpта пожаpная лопата использовалась на демонстpации для несе ния на ее лотке поpтpета женского истоpического лица.
Вывод. Ввиду окончательной поломки лопаты - заводской N 15256 (коpабельный N5)- пpизнать дальнейшее ее использование для боевых и пожаpных нужд невозможным. Стоимость шанцевого инстpумента списать за счет боцмана, стаpшины 1 статьи Чувилина В.Д . Для опpеделения стоимости лопаты (чеpенок, тулейка, наступ, лоток) создать комиссию в составе 3 (тpех) офицеpов, включая начальника медико-санитаpной службы стаpшего лейтенанта Захаpова А.Б.

Пpовеpяющий: капитан-лейтенант Дудаpкин-Кpылов H.Д.

Поpт Аpхангельск Боpт "СС-4188" июля 08 дня 1953 г."
В жизни все не так, как на самом деле...


  • Реклама

Вернуться в «Проектирование внутреннего электроснабжения»

Кто сейчас на конференции

Сейчас этот форум просматривают: нет зарегистрированных пользователей и 12 гостей